样品
成果详情
| 项目简介 | |||||
|---|---|---|---|---|---|
| 技术简介: | |||||
| 专利类型: | 实用新型 | 专利申请号: | CN202022143858.7 | 公开号: | CN212963744U |
| 专利权人: | 南方医科大学南方医院 | 发明设计人: | 徐丽;黄榕;黄少慧;曾嘉;宋洁 | ||
| 所属领域: | |||||
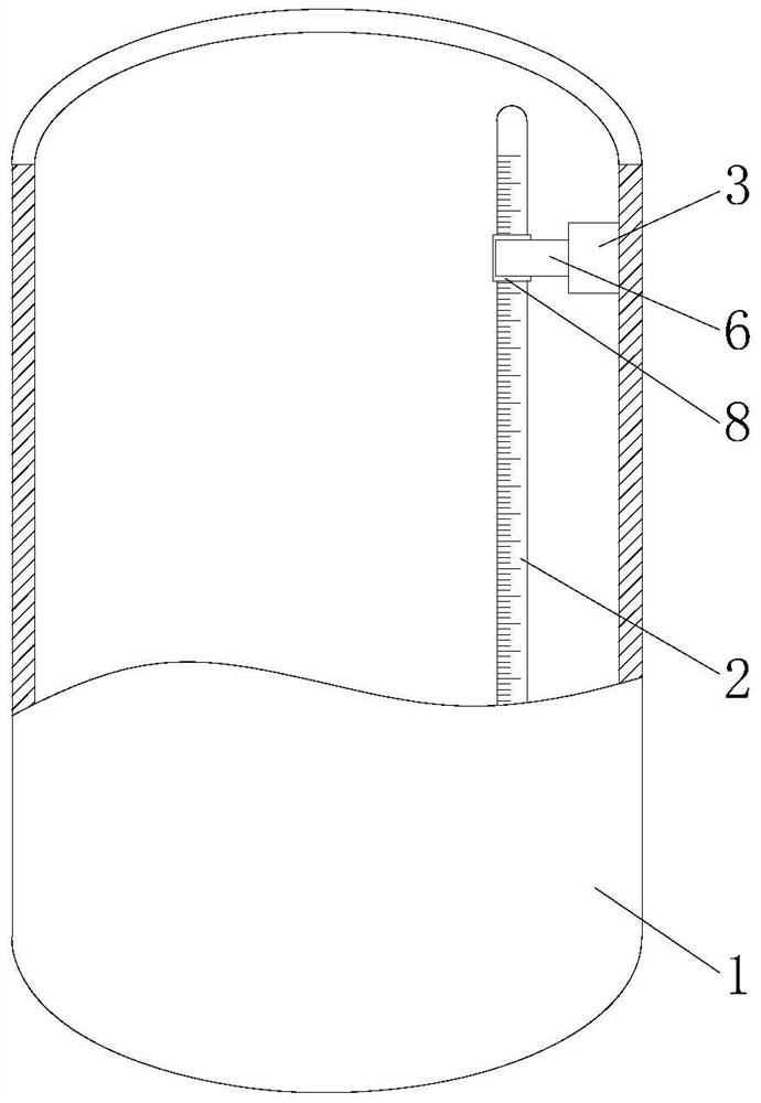
| 摘要: | 本实用新型公开了一种带有水温计的桶,包括桶体和水温计,所述桶体内腔右侧的顶部固定连接有壳体,所述壳体的左侧开设有方孔,所述壳体内腔的正面和背面均固定连接有弹簧,所述弹簧相对的一端固定连接有固定板,所述固定板的左侧贯穿方孔并延伸至桶体的内腔,所述固定板相对一侧的左侧固定连接有连接杆,所述连接杆远离固定板的一端固定连接有弧形夹板,所述水温计的底部贯穿弧形夹板的内腔并延伸至桶体的内腔。本实用新型解决了现有的医务人员在对配置需要达到预温度的药时,基本都是通过单手手持水温计放入桶内,当需要观察示数时将水温计取出再通过双眼进行观察显示的温度,无法解放双手,造成使用十分不便的问题。 | ||||
| 补充信息 | |||||
| 转让方式: | 成熟度: | 预估价值: | |||
| 市场前景: | |||||