样品
成果详情
| 项目简介 | |||||
|---|---|---|---|---|---|
| 技术简介: | |||||
| 专利类型: | 实用新型 | 专利申请号: | CN202021922799.7 | 公开号: | CN213417977U |
| 专利权人: | 南方医科大学南方医院 | 发明设计人: | 刘丽兰;王莉慧 | ||
| 所属领域: | |||||
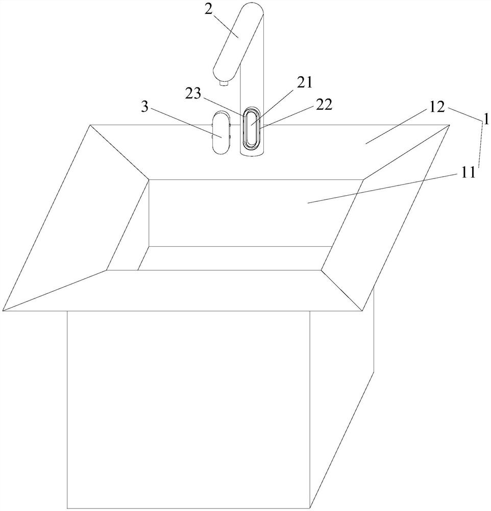
| 摘要: | 本实用新型公开了一种新型洗手池,包括洗手池台和装在洗手池台上的水龙头,水龙头的下部开有窗口,在窗口内安装有红外感应器,洗手池台包括洗手槽和位于洗手槽周边的台面,所述台面为朝向洗手槽倾斜的倾斜式台面,在所述窗口的前侧固定有一防水透明罩。本实用新型的新型洗手池利于清洁、符合感控要求及红外感应器不易失灵。 | ||||
| 补充信息 | |||||
| 转让方式: | 成熟度: | 预估价值: | |||
| 市场前景: | |||||