样品
成果详情
| 项目简介 | |||||
|---|---|---|---|---|---|
| 技术简介: | |||||
| 专利类型: | 实用新型 | 专利申请号: | CN202021319472.0 | 公开号: | CN212755531U |
| 专利权人: | 南方医科大学珠江医院 | 发明设计人: | 王映;彭花;张玮莹;张艳珊;成媛;朱萍 | ||
| 所属领域: | |||||
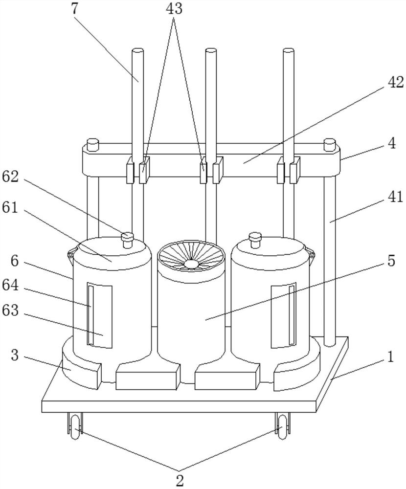
| 摘要: | 本实用新型公开了一种医院适用的多功能地面清洁工具车。一种医院适用的多功能地面清洁工具车,包括支撑板,在所述支撑板底部装设有行走轮,其中,在所述支撑板上依次设有三个安装槽,其中,位于中间的安装槽内装设有甩干桶,其余两个所述安装槽内均装设有拖把桶,所述拖把桶上设有可视水位线,所述可视水位线上设有显示容量的刻度,在所述支撑板上还设有拖把固定架,所述拖把固定架上装设有至少三个不同颜色的拖把。本实用新型一种医院适用的多功能地面清洁工具车,使用方便并且能够降低感染风险和保持医疗环境卫生整洁。 | ||||
| 补充信息 | |||||
| 转让方式: | 成熟度: | 预估价值: | |||
| 市场前景: | |||||