样品
成果详情
| 项目简介 | |||||
|---|---|---|---|---|---|
| 技术简介: | |||||
| 专利类型: | 实用新型 | 专利申请号: | CN202021065446.X | 公开号: | CN212877743U |
| 专利权人: | 南方医科大学南方医院 | 发明设计人: | 范红阳;黄良;周伟;彭丽丽;张慧 | ||
| 所属领域: | |||||
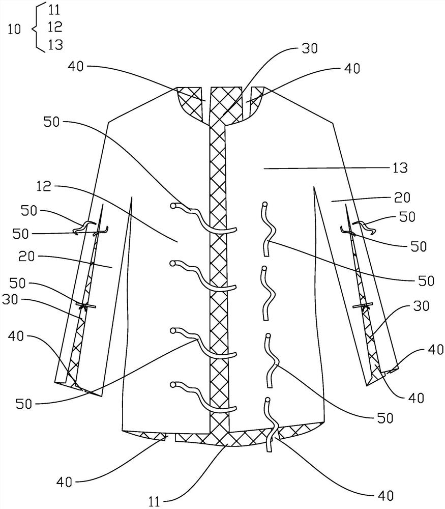
| 摘要: | 本实用新型公开了一种便捷式换药服,包括衣服本体和袖子,通过在衣服本体和袖子内侧设置有纱布层,在衣服本体和袖子上沿长度方向设置有至少一道缺口,在缺口两侧设置有至少两组绑带,在使用时,先将药粉或药水撒在纱布层上,然后让病人直接穿上换药服,由于缺口的存在,使得缺口两侧的布料是可以相互重叠的,然后通过绑带调节袖子以及衣服本体的大小,使纱布层紧贴合在病人的创面上,之后在衣服本体外侧以及袖子外侧可以通过纱布进行辅助包裹。相对于现有技术而言,更加省时省力,既减轻了医护人员的工作量,也降低了病人的疼痛时间。 | ||||
| 补充信息 | |||||
| 转让方式: | 成熟度: | 预估价值: | |||
| 市场前景: | |||||