样品
成果详情
| 项目简介 | |||||
|---|---|---|---|---|---|
| 技术简介: | |||||
| 专利类型: | 实用新型 | 专利申请号: | CN202120474386.5 | 公开号: | CN214971082U | 
| 专利权人: | 南方医科大学南方医院 | 发明设计人: | 苏诗婷;黄良;任翠玉;田淑华 | ||
| 所属领域: | |||||
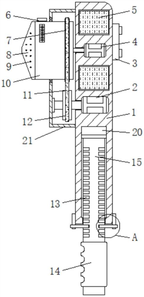
| 摘要: | 本实用新型公开了便携式药膏涂抹器,包括固定套,所述固定套右侧的顶部固定连接有时间控制器,所述固定套内部的顶部固定安装有供电电池,所述固定套内部的顶部固定安装有减速电机,减速电机的输出端固定连接有活动杆。本实用新型通过设置驱动电机、时间控制器、减速电机、供电电池、注料管、从动皮带轮、涂抹盘、微孔、储料壳、传动皮带、主动皮带轮、插槽、滑杆、螺旋叶片、活动杆、旋转挡板、固定底座和收纳槽配合使用,具有方便操作和调整长度的优点,解决了现有的药膏涂抹器需人工手动将药膏涂覆在器械上,不仅需要多次涂抹,且涂抹均匀性一般,同时无法调整拿持长度,适用范围较小,降低了药膏涂抹器实用性的问题。 | ||||
| 补充信息 | |||||
| 转让方式: | 成熟度: | 预估价值: | |||
| 市场前景: | |||||