样品
成果详情
| 项目简介 | |||||
|---|---|---|---|---|---|
| 技术简介: | |||||
| 专利类型: | 实用新型 | 专利申请号: | CN202320391670.5 | 公开号: | CN219614843U |
| 专利权人: | 南方医科大学珠江医院 | 发明设计人: | 张小红;张馨元;朱松德;陈新姑;梁淑平 | ||
| 所属领域: | |||||
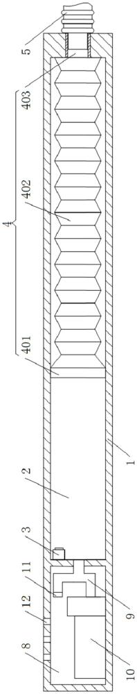
| 摘要: | 本实用新型公开了一种呼吸功能锻炼器,包括康复器主体,所述康复器主体内设置有腔道,在所述腔道内的一端设置有测距传感器且该腔道的另一端设置有伸缩管,所述伸缩管的一端为封闭端且该端与腔道滑动配合,上述伸缩管的另一端可拆卸连接有吹气管,以及,所述康复器主体上设置有显示器,所述显示器、测距传感器均与一控制器电连接。本实用新型具有测量精度高、能够提高训练积极性、促进康复的优点。 | ||||
| 补充信息 | |||||
| 转让方式: | 成熟度: | 预估价值: | |||
| 市场前景: | |||||