样品
成果详情
| 项目简介 | |||||
|---|---|---|---|---|---|
| 技术简介: | |||||
| 专利类型: | 实用新型 | 专利申请号: | CN202121231647.7 | 公开号: | CN214968074U |
| 专利权人: | 南方医科大学珠江医院 | 发明设计人: | 张尹红;杨木英 | ||
| 所属领域: | |||||
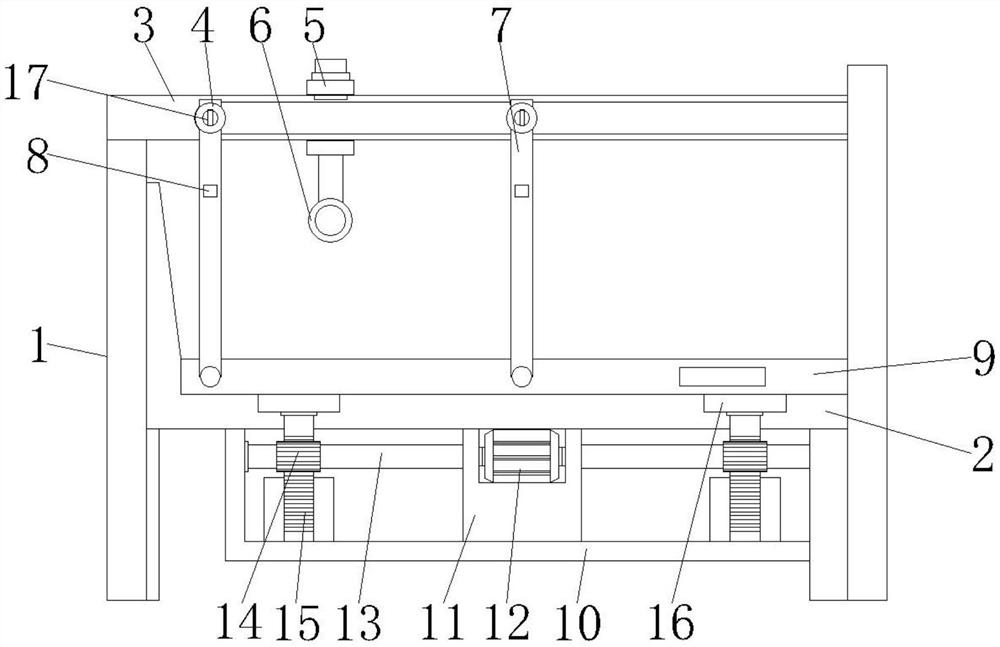
| 摘要: | 本实用新型涉及重症护理及康复技术领域,且公开了一种ICU患者称重测量及上肢锻炼装置,包括地面支撑架和固定床板,所述地面支撑架的上方固定连接有矩形铁架,所述矩形铁架的左右两侧共滑动连接有四个滑动圆块,所述矩形铁架还滑动连接有固定外框,所述固定外框的下方固定连接有上臂吊环,所述滑动圆块的内侧插接有活动杆,所述活动杆的上方开设有卡槽,所述活动杆的下方固定连接有可移动床板,所述固定床板的下方固定连接有支撑外框。通过铁架、滑动圆块、固定外框、上臂吊环、活动杆、卡槽、可移动床板、双头电机、转轴、齿轮、锯齿杆、支撑板、旋钮和称重装置本体的配合使用,从而达到了方便患者体重称重和上肢锻炼的效果。 | ||||
| 补充信息 | |||||
| 转让方式: | 成熟度: | 预估价值: | |||
| 市场前景: | |||||