样品
成果详情
| 项目简介 | |||||
|---|---|---|---|---|---|
| 技术简介: | |||||
| 专利类型: | 实用新型 | 专利申请号: | CN202420403628.5 | 公开号: | CN222056083U |
| 专利权人: | 南方医科大学珠江医院 | 发明设计人: | 陈妙枝;黄莉 | ||
| 所属领域: | |||||
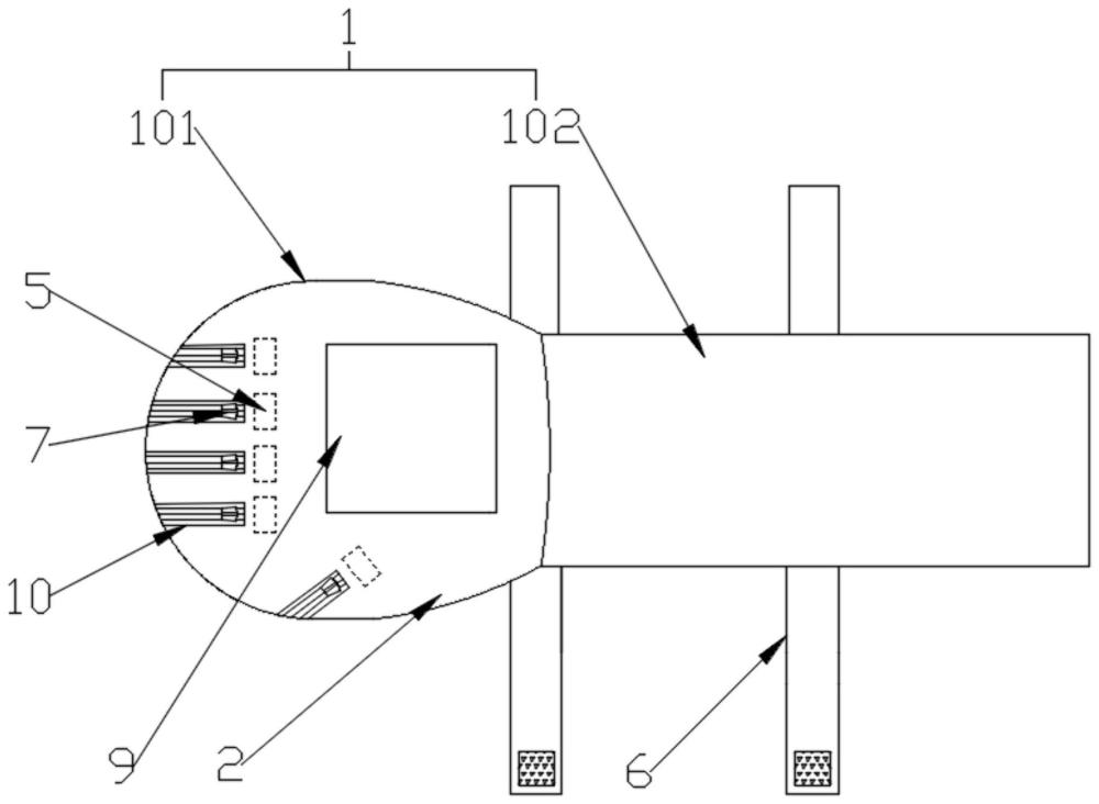
| 摘要: | 本实用新型公开了一种集静脉输液保护与血氧监测于一体的约束手套,包括支撑板、约束面,所述约束面包裹并缝合在所述支撑板一端的表面形成放置患者手掌的一侧开口的约束腔,所述约束腔内部的所述支撑板上设置有多个手指约束带,所述支撑板远离所述约束腔的一端设置有至少一个固定带,所述支撑板的底端设置有多个固定部件,所述约束面上设置有观察口,所述约束面上与各所述手指约束带相对应的位置均设置有开合口。本实用新型具有提高患者的输液安全性和护理人员的血氧监测效率的优点。 | ||||
| 补充信息 | |||||
| 转让方式: | 成熟度: | 预估价值: | |||
| 市场前景: | |||||