样品
成果详情
| 项目简介 | |||||
|---|---|---|---|---|---|
| 技术简介: | |||||
| 专利类型: | 实用新型 | 专利申请号: | CN202122261248.1 | 公开号: | CN215708109U |
| 专利权人: | 南方医科大学珠江医院 | 发明设计人: | 钱前 | ||
| 所属领域: | |||||
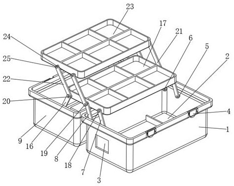
| 摘要: | 本实用新型公开了一种麻醉药箱,包括药箱主体、回收槽、第一放置卡槽、第一转轴、第二转轴、第一转动板、第二转动板、箱盖、第二放置卡槽、第三转轴、第三转动板、第一药物放置板、第四转轴、第五转轴、第六转轴、第四转动板、第五转动板、第二药物放置板、第七转轴和第八转轴,药箱主体的底端内壁上开设有回收槽,药箱主体的一侧内壁上开设有第一放置卡槽,药箱主体的一侧内壁上对称安装有第一转动板,第一转动板的一侧内壁上转动连接有第一转轴,且第一转轴的另一端固接于药箱主体的内壁上,该实用新型方便、适用与临床使用的麻醉药箱,而且能实现手术患者、麻醉医师“专人专箱”的管理模式,有助于药品精细化闭环管理。 | ||||
| 补充信息 | |||||
| 转让方式: | 成熟度: | 预估价值: | |||
| 市场前景: | |||||