样品
成果详情
| 项目简介 | |||||
|---|---|---|---|---|---|
| 技术简介: | |||||
| 专利类型: | 实用新型 | 专利申请号: | CN202121597606.X | 公开号: | CN215339410U |
| 专利权人: | 南方医科大学珠江医院 | 发明设计人: | 朱瑶 | ||
| 所属领域: | |||||
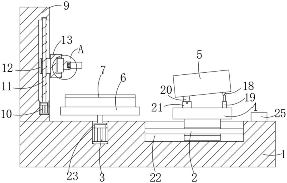
| 摘要: | 本实用新型公开了一种预防两种药物发生反应的输液器颗粒报警器,定位基板内部分别固定安装有第一电动滑台与第一电机,第一电动滑台的滑动块表面固定安装有第一固定座,第一固定座表面安装有纳米粒度仪与蜂鸣器,纳米粒度仪与蜂鸣器电性连接,定位基板表面固定安装有支架,支架内部固定安装有第二电机,第二电机的输出轴端固定连接有螺杆,螺杆外壁螺纹安装有滑块,滑块一侧固定安装有安装座,安装座内部固定安装有旋转气缸,该装置通过采用纳米粒度仪能够对药物混合发生作用产生的絮状物或者颗粒进行检测,同时能够通过蜂鸣器进行报警,通过电动推杆,能够控制纳米粒度仪在不同角度对药物进行检测,能够提高检测的精确度。 | ||||
| 补充信息 | |||||
| 转让方式: | 成熟度: | 预估价值: | |||
| 市场前景: | |||||