样品
成果详情
| 项目简介 | |||||
|---|---|---|---|---|---|
| 技术简介: | |||||
| 专利类型: | 实用新型 | 专利申请号: | CN202321823419.8 | 公开号: | CN220404730U |
| 专利权人: | 南方医科大学南方医院 | 发明设计人: | 李苑媚;罗丹;邓诗蕴 | ||
| 所属领域: | |||||
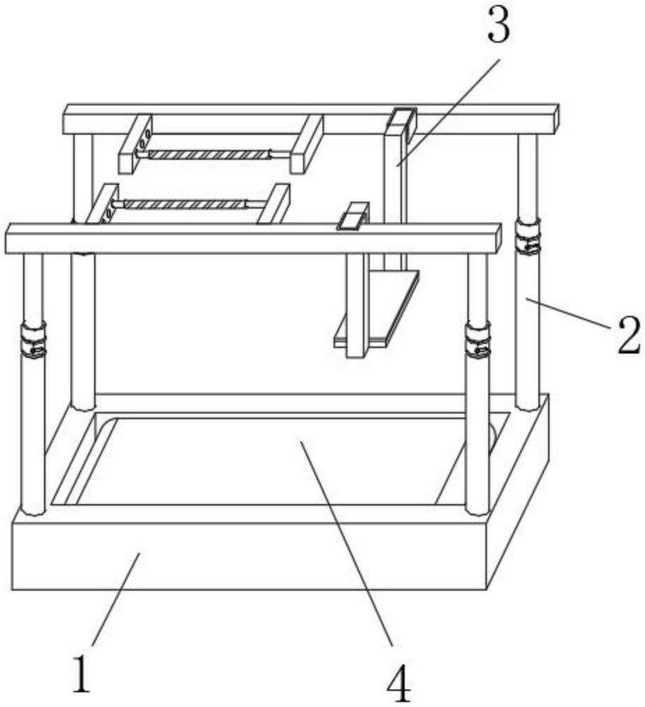
| 摘要: | 本实用新型公开了护理康复技术领域的一种脑卒中康复锻炼装置,包括:底座、调节组件、休息组件和锻炼组件,所述底座的上方表面设置有调节组件;通过调节组件的设置,有利于康复锻炼装置在使用过程中,可以根据患者的身高以及体型进行调节,当康复锻炼装置调节时,首先拉动横杆,横杆带动下方表面两端的调节杆在支撑套内进行移动,根据使用者的身高调节至合适的位置,然后掰动活动扣,活动扣扣住支撑套的上端外侧,将支撑套与调节杆进行固定,然后根据使用者的体型将扶杆卡进合适位置的连接槽内,扶杆通过两端的卡套分别卡进对应的连接槽内,同时卡套通过扶杆两端的伸缩弹簧向两端弹出,卡在连接槽内,从而将扶杆进行固定。 | ||||
| 补充信息 | |||||
| 转让方式: | 成熟度: | 预估价值: | |||
| 市场前景: | |||||