样品
成果详情
| 项目简介 | |||||
|---|---|---|---|---|---|
| 技术简介: | |||||
| 专利类型: | 实用新型 | 专利申请号: | CN202022926991.X | 公开号: | CN213799760U | 
| 专利权人: | 南方医科大学南方医院 | 发明设计人: | 李笑银;包良笑 | ||
| 所属领域: | |||||
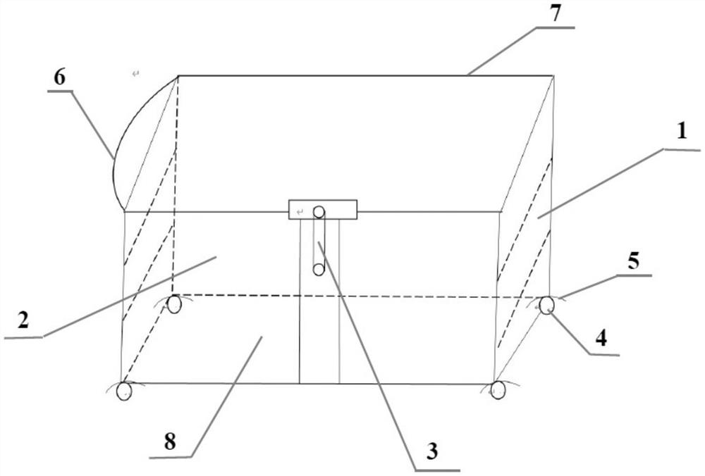
| 摘要: | 本实用新型涉及一种病号服污物车,应用于收纳患者更换的污染衣物、床单位用品。本实用新型所述的病号服污物车的主体为由细圆管组成的敞口式箱型框架结构的车体;车体的上方围栏形成的敞口适合套上可更换的清洁袋,并向四周反折固定在车体的上方围栏上;车体的较宽的一个侧面为能向外打开的双开式侧车门,以致使装满病号服的清洁袋通过侧车门被拖出;车体的较窄的一个侧面的上部设有推手;车体的底部为封闭的底板,其四角装有万向轮。本实用新型所述的病号服污物车能应用于临床上污染病号服、床单位等收纳、运送和更换。车型小巧灵活、进出病房方便,减少占地面积;避免污物二次装袋,节省人力、物力,更好地预防交叉感染,更好地保护医护人员。 | ||||
| 补充信息 | |||||
| 转让方式: | 成熟度: | 预估价值: | |||
| 市场前景: | |||||