样品
成果详情
| 项目简介 | |||||
|---|---|---|---|---|---|
| 技术简介: | |||||
| 专利类型: | 实用新型 | 专利申请号: | CN202420812358.3 | 公开号: | CN222444217U |
| 专利权人: | 南方医科大学南方医院 | 发明设计人: | 李抗抗;陈金连;郭玲玲;魏绮丽;杨柳静;王云花 | ||
| 所属领域: | |||||
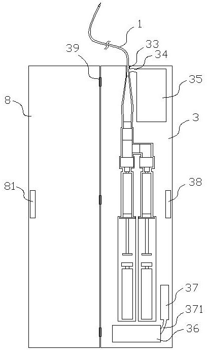
| 摘要: | 本实用新型涉及医疗器械领域,尤其涉及一种用于胃底静脉曲张组织胶注射的电动控制装置,该装置可通过电动挤压的方式进行碘油和组织胶注射。包括一次性使用内窥镜注射针,一次性使用内窥镜注射针的注射手柄开口处连接正压接头,正压接头下开口处与三通接头的上开口相连接,三通接头下开口与第一电磁阀相连接,三通接头侧开口通过弯头与第二电磁阀相连接,第一电磁阀与第二电磁阀底部分别设有直通接头,直通接头分别与下方第一注射器和第二注射器相连接,第一注射器和第二注射器下方间隔设有电动推动机构,电动推动机构与下方的控制器相连接,控制器还通过线路与第一电磁阀和第二电磁阀相连接。它操作简单,使用方便,适用于胃底静脉曲张的治疗。 | ||||
| 补充信息 | |||||
| 转让方式: | 成熟度: | 预估价值: | |||
| 市场前景: | |||||