样品
成果详情
| 项目简介 | |||||
|---|---|---|---|---|---|
| 技术简介: | |||||
| 专利类型: | 发明 | 专利申请号: | CN201310334247.2 | 公开号: | CN103356194B |
| 专利权人: | 南方医科大学 | 发明设计人: | 康立丽;张丽媛;贺杰禹 | ||
| 所属领域: | |||||
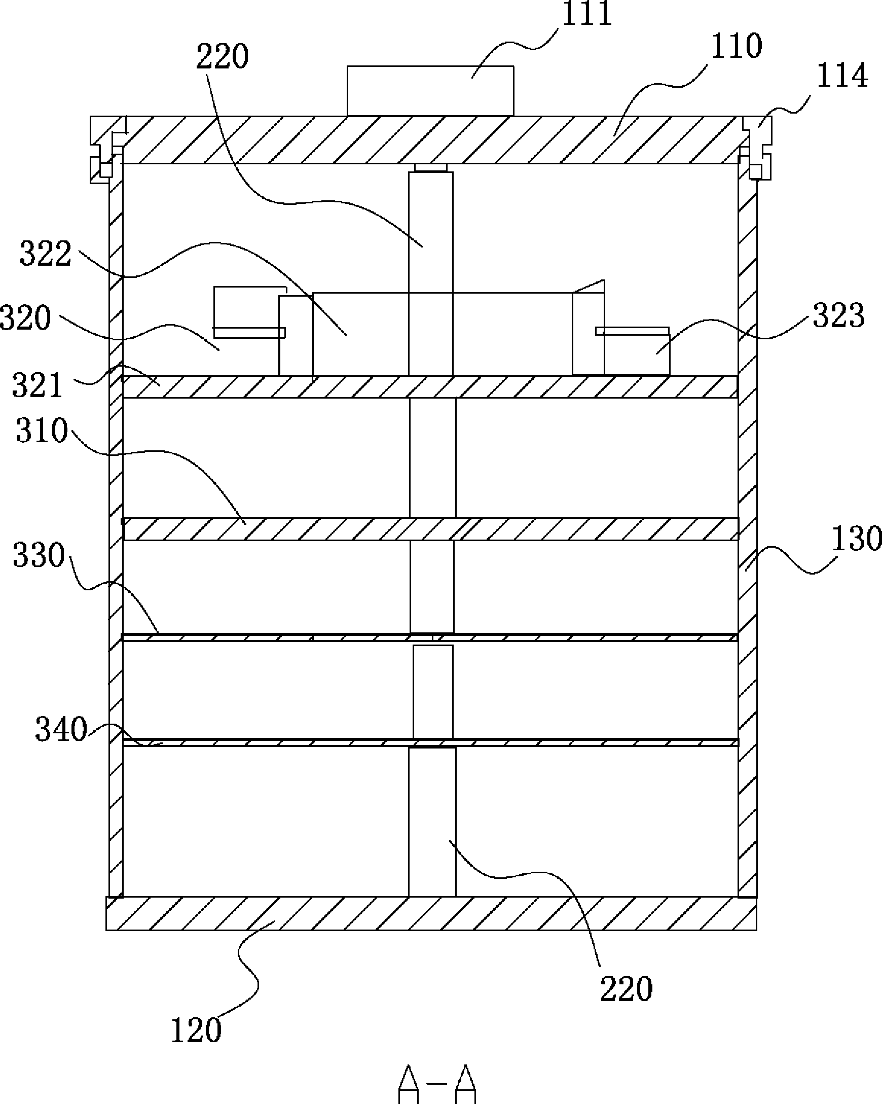
| 摘要: | 一种磁共振质量控制多参数测试体模用定位构件及其体模,定位构件设置有圆棒和与圆棒相匹配的多个套管,套管套设于圆棒;磁共振质量控制多参数测试体模的每个测试层均设置有与圆棒相匹配的通孔,测试层通过各自设置的通孔穿设于圆棒,相邻两个测试层之间的圆棒上均套设有套管以将相邻的两个测试层隔开,最外两测试层分别距离磁共振质量控制多参数测试体模的上密封盖和下密封盖的圆棒上套设有套管,圆棒的两端分别固定装配于上密封盖和所述下密封盖。圆棒设置为一至四个,套管的数量为圆棒数量的3至6倍。本发明能同时测试多种参数、且测试层可灵活组合,还可调节测试层之间的间距,并可灵活更换测试层,还具有拆卸装配方便的特点。 | ||||
| 补充信息 | |||||
| 转让方式: | 成熟度: | 预估价值: | |||
| 市场前景: | |||||