样品
成果详情
| 项目简介 | |||||
|---|---|---|---|---|---|
| 技术简介: | |||||
| 专利类型: | 发明 | 专利申请号: | CN202011194656.3 | 公开号: | CN112336470A |
| 专利权人: | 南方医科大学珠江医院 | 发明设计人: | 崔春晖 | ||
| 所属领域: | |||||
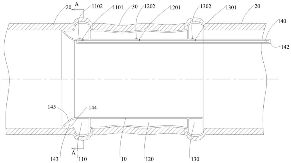
| 摘要: | 本发明公开一种用于肠道术后的肠道智能保护装置,包括中空的环状气囊,环状气囊由一体式成型且内部腔体相互独立的第一定位部、支撑部和第二定位部组成,第一定位部和第二定位部的外环直径均大于支撑部的外环直径,第一定位部和第二定位部分别用于支撑在肠道的远端和近端并距肠道缝合段一设定距离,支撑部用于支撑在肠道缝合段内,环状气囊的内壁上设有一体式的充气管,充气管的端部暴露于人体外部,充气管通过独立的阀门与第一定位部、支撑部和第二定位部的内部腔体连通,处于保护状态时第一定位部的内部腔体压力和第二定位部的内部腔体压力均大于支撑部的内部腔体压力。本发明可以有效的对肠道缝合段进行保护,避免排泄物对肠道缝合段的污染。 | ||||
| 补充信息 | |||||
| 转让方式: | 成熟度: | 预估价值: | |||
| 市场前景: | |||||