样品
成果详情
| 项目简介 | |||||
|---|---|---|---|---|---|
| 技术简介: | |||||
| 专利类型: | 实用新型 | 专利申请号: | CN202222707656.X | 公开号: | CN218979932U |
| 专利权人: | 南方医科大学珠江医院 | 发明设计人: | 简卫红;黄彩芳;詹也男 | ||
| 所属领域: | |||||
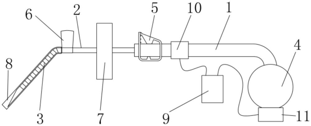
| 摘要: | 本实用新型公开了一种改良的Ommaya囊穿刺负压引流结构,包括引流软管;在所述引流软管的一端设有穿刺钢针且该穿刺钢针的前端为弯曲状的穿刺端,在所述穿刺钢针的穿刺端外壁上设有一用于显示穿刺深度的刻度线;在所述引流软管上远离所述穿刺钢针的一端可拆卸设有一用于提供负压进行负压引流以及储存引流的液体的负压球。本实用新型具有能够有效把控穿刺深度以降低穿刺风险、具备负压引流功能以便于对ommaya囊进行引流操作的优点。 | ||||
| 补充信息 | |||||
| 转让方式: | 成熟度: | 预估价值: | |||
| 市场前景: | |||||