样品
成果详情
| 项目简介 | |||||
|---|---|---|---|---|---|
| 技术简介: | |||||
| 专利类型: | 实用新型 | 专利申请号: | CN202221771535.5 | 公开号: | CN218304960U |
| 专利权人: | 南方医科大学珠江医院 | 发明设计人: | 郑华梅;徐颖;胡丽娟 | ||
| 所属领域: | |||||
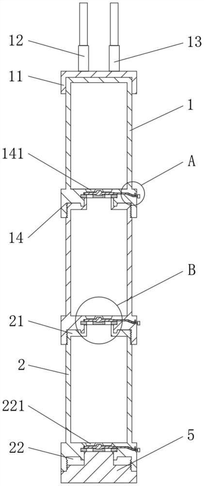
| 摘要: | 本实用新型公开了一种一次性支气管镜灌洗收集器。一种一次性支气管镜灌洗收集器,包括第一收集瓶和第二收集瓶,在所述第一收集瓶上装设有连接盖,所述连接盖上设有引流接头和负压接头,在所述第一收集瓶的底部设有能够与第二收集瓶可拆卸连接在一起的第一连接槽,在所述第二收集瓶的上端设有能够与第一连接槽配合螺纹连接的连接头,在所述第二收集瓶的底部设有第二连接槽,所述第一连接槽、第二连接槽内均可拆卸装设有底盖,以及,在所述第一连接槽、第二连接槽的底部均装设有开闭组件。本实用新型一种一次性支气管镜灌洗收集器,使用方便,能够缩短支气管镜操作时间并且能够减少患者痛苦和保证灌洗液送检质量。 | ||||
| 补充信息 | |||||
| 转让方式: | 成熟度: | 预估价值: | |||
| 市场前景: | |||||