样品
成果详情
| 项目简介 | |||||
|---|---|---|---|---|---|
| 技术简介: | |||||
| 专利类型: | 实用新型 | 专利申请号: | CN202021419439.5 | 公开号: | CN213430572U |
| 专利权人: | 南方医科大学南方医院 | 发明设计人: | 韦潇;李秋凤;吴金艳 | ||
| 所属领域: | |||||
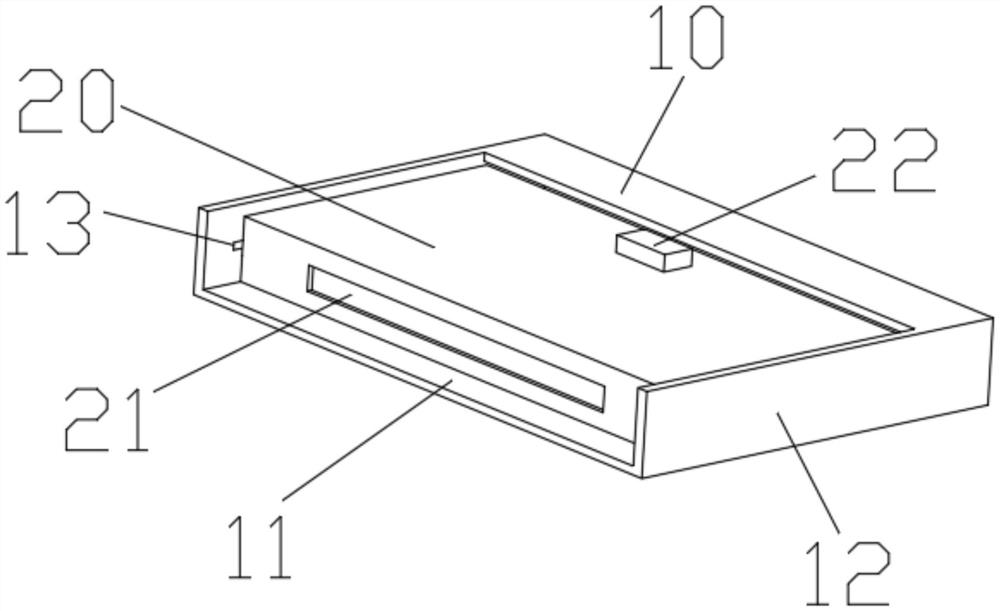
| 摘要: | 本实用新型涉及一种PICC穿刺包配套的锐器盒,属于医疗辅助器械的技术领域。包括盒体和锐器盒盖,所述锐器盒盖设置在盒体的盖体槽内,所述盒体内设置有吸水棉,所述锐器盒盖呈L形,锐器盒盖的竖直端面开有锐器孔;所述盒体包括对称设置的侧板,所述侧板靠近另一侧板的一侧设置有导向槽和挡块,所述锐器盒盖两端均设有中心块,所述中心块一端插入所述导向槽,锐器盒盖通过中心块与盒体滑动连接,挡块设置在所述锐器盒盖水平端的下方,达到限制锐器盒盖转动的目的。本实用新型解决了现有的锐器盒存在功能单一、锐器上的废液容易外溢等问题。 | ||||
| 补充信息 | |||||
| 转让方式: | 成熟度: | 预估价值: | |||
| 市场前景: | |||||