样品
成果详情
| 项目简介 | |||||
|---|---|---|---|---|---|
| 技术简介: | |||||
| 专利类型: | 实用新型 | 专利申请号: | CN202220677278.2 | 公开号: | CN217489236U | 
| 专利权人: | 南方医科大学南方医院 | 发明设计人: | 李忻怡 | ||
| 所属领域: | |||||
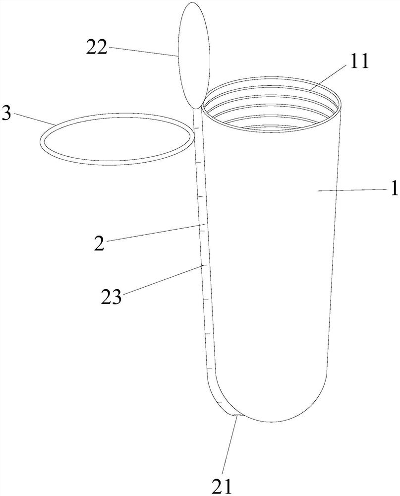
| 摘要: | 本实用新型公开了一种新生儿口腔按摩用指套,包括套在食指上的指套,所述指套的上端为敞口端,指套的下端弧形封闭端,指套的一侧有滴管,滴管的下端是贴附在弧形封闭端表面的弧形端,弧形端的末端有开口,滴管的上端为挤压头。本实用新型的新生儿口腔按摩用指套减少了用料,节约了成本,提高了舒适感和提高了吮吸能力锻炼效果。 | ||||
| 补充信息 | |||||
| 转让方式: | 成熟度: | 预估价值: | |||
| 市场前景: | |||||