样品
成果详情
| 项目简介 | |||||
|---|---|---|---|---|---|
| 技术简介: | |||||
| 专利类型: | 实用新型 | 专利申请号: | CN202021652143.8 | 公开号: | CN213250732U |
| 专利权人: | 南方医科大学南方医院 | 发明设计人: | 邱胜;冯晓丹;钟晓红;彭乔伊;龚妮容;卢颜;李迎雪;夏嘉一 | ||
| 所属领域: | |||||
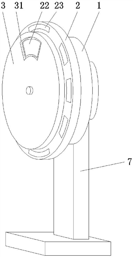
| 摘要: | 本实用新型公开了一种用于指引住院患者检查的指示盘。一种用于指引住院患者检查的指示盘,包括底盘、转盘和指示盘,其中,在所述底盘的下端设有支撑座,在所述底盘的中部设有中心轴,所述转盘通过设于中部的轴套套设在中心轴上,所述指示盘与所述中心轴远离底盘的一端连接在一起,在所述指示盘上设有开口,在所述转盘与指示盘相配合的表面上沿着圆周方向环绕设有若干个能够与所述开口相配合的指示块。本实用新型一种用于指引住院患者检查的指示盘,使用简单并且指引效果好。 | ||||
| 补充信息 | |||||
| 转让方式: | 成熟度: | 预估价值: | |||
| 市场前景: | |||||