样品
成果详情
| 项目简介 | |||||
|---|---|---|---|---|---|
| 技术简介: | |||||
| 专利类型: | 实用新型 | 专利申请号: | CN202223428480.0 | 公开号: | CN219276406U | 
| 专利权人: | 南方医科大学南方医院 | 发明设计人: | 林亮宗 | ||
| 所属领域: | |||||
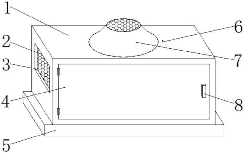
| 摘要: | 本实用新型公开了一种医用导管头端成型装置,属于成型装置技术领域,包括底板,底板的顶部固定连接有防护壳体,防护壳体的顶部固定连接有凸台,凸台的内部设置有散热组件,凸台的一侧固定设置有进料管,进料管的底部固定连接有导料软管,防护壳体内部的另一侧内壁固定连接有第一气缸,第一气缸的输出端通过连接板固定连接有第一模具,第一模具的一侧外壁开设有第一模腔,防护壳体内部的一侧内壁固定连接有第二气缸。本实用新型通过设置的有散热孔、和散热组件,可以实现对成型后的导管头进行快速散热,解决了现有的医用导管头端成型装置的冷却系统,采用循环水冷装置,水冷易结垢、不利于温度下降的问题。 | ||||
| 补充信息 | |||||
| 转让方式: | 成熟度: | 预估价值: | |||
| 市场前景: | |||||