样品
成果详情
| 项目简介 | |||||
|---|---|---|---|---|---|
| 技术简介: | |||||
| 专利类型: | 实用新型 | 专利申请号: | CN201921369221.0 | 公开号: | CN210812144U |
| 专利权人: | 南方医科大学南方医院 | 发明设计人: | 曾鹏程 | ||
| 所属领域: | |||||
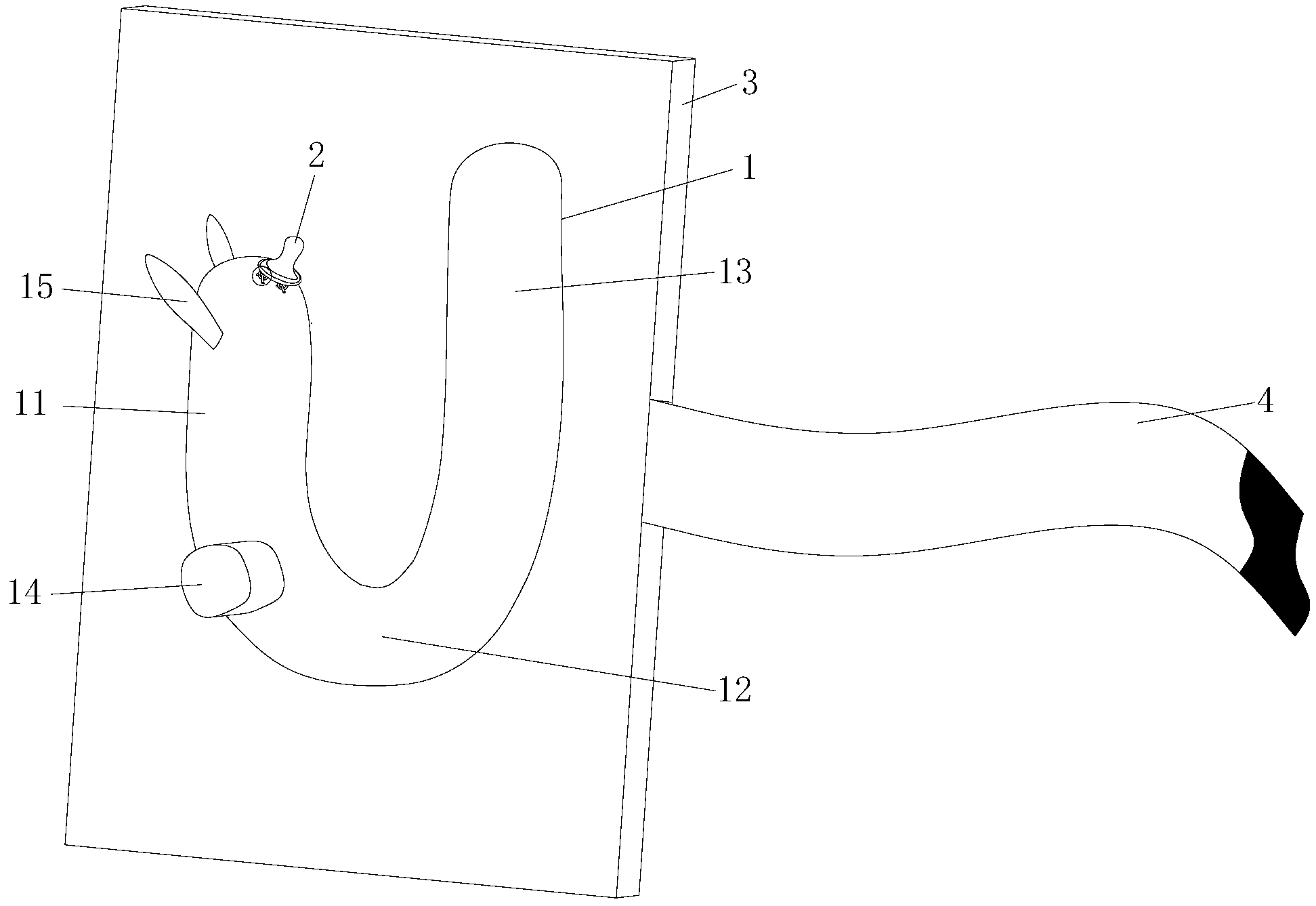
| 摘要: | 本实用新型公开了一种早产儿侧卧位支持辅具,包括由胸腹部支撑、臀部支撑和背部支撑构成的U型支持部,臀部支撑的两端分别连接胸腹部支撑的第一端和背部支撑的第一端,胸腹部支撑的第二端固定有安抚奶嘴。本实用新型的早产儿侧卧位支持辅具延长早产儿的侧卧时间,减轻护理难度和减少医护人员的工作量。 | ||||
| 补充信息 | |||||
| 转让方式: | 成熟度: | 预估价值: | |||
| 市场前景: | |||||