样品
成果详情
| 项目简介 | |||||
|---|---|---|---|---|---|
| 技术简介: | |||||
| 专利类型: | 实用新型 | 专利申请号: | CN202021331205.5 | 公开号: | CN212939525U |
| 专利权人: | 南方医科大学南方医院 | 发明设计人: | 李冰 | ||
| 所属领域: | |||||
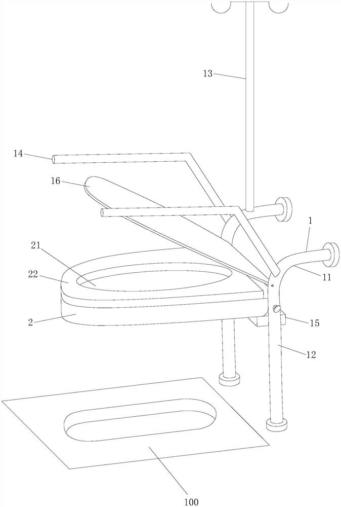
| 摘要: | 本实用新型公开了一种可折叠医用坐便器,包括位于蹲坑后侧的水箱两边的两个相互平行且均固定至墙上的固定杆,所述的两个固定杆之间铰接安装有可朝上翻折至与固定杆平行及可朝下翻折至与固定杆垂直的坐臀板,坐臀板的中心开有与下方的蹲坑正对的便孔。本实用新型的可折叠医用坐便器在蹲坑上拥有坐便器,可以同时实现马桶和蹲坑的功能,可以同时兼顾喜欢蹲坑和喜欢马桶的人。 | ||||
| 补充信息 | |||||
| 转让方式: | 成熟度: | 预估价值: | |||
| 市场前景: | |||||