样品
成果详情
| 项目简介 | |||||
|---|---|---|---|---|---|
| 技术简介: | |||||
| 专利类型: | 实用新型 | 专利申请号: | CN202221015554.5 | 公开号: | CN217066385U |
| 专利权人: | 南方医科大学珠江医院 | 发明设计人: | 冯瑞婷;廖荣荣;邓丽婷;麦衍夏 | ||
| 所属领域: | |||||
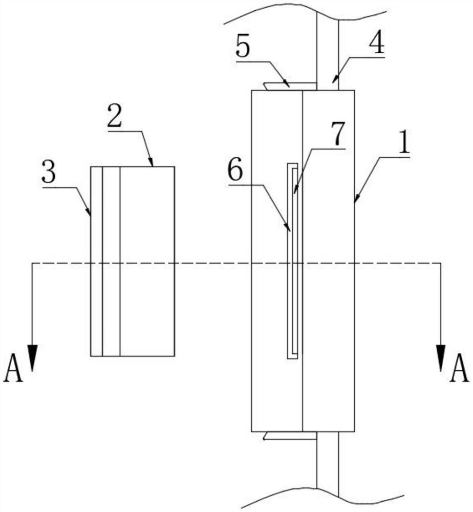
| 摘要: | 本实用新型公开了一种防打结心电图机线路套结构,包括固定壳和放置块,两个所述固定壳之间转动连接,两个所述固定壳之间设有通槽,所述通槽内设有线体,所述放置块的右侧设有限位槽,所述限位槽的左侧壁嵌设有第一磁块,位于左侧的所述固定壳的左侧嵌设以后第二磁块,所述放置块的左侧安装有安装机构,所述通槽内设有两个限位块,两个所述固定壳之间设有固定机构,所述第一磁块和第二磁块相邻面异性相吸。该装置通过设置放置块和固定壳等结构,能够在心电图机使用完成之后,通过固定壳将线体固定在放置块上,操作简单快捷,有效的避免线体不整理导致缠绕在一起,同时该装置制作成本较低,还能适应与不同尺寸的线体固定,实用性较强。 | ||||
| 补充信息 | |||||
| 转让方式: | 成熟度: | 预估价值: | |||
| 市场前景: | |||||