样品
成果详情
| 项目简介 | |||||
|---|---|---|---|---|---|
| 技术简介: | |||||
| 专利类型: | 发明 | 专利申请号: | CN201710670758.X | 公开号: | CN107596458A |
| 专利权人: | 南方医科大学南方医院 | 发明设计人: | 王健;万绵水 | ||
| 所属领域: | |||||
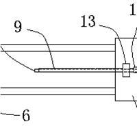
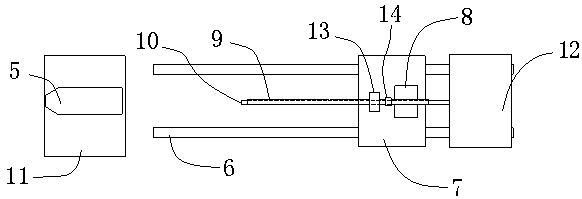
| 摘要: | 本发明的目的是提出一种引流均匀、海绵条不易脱落的负压引流条,以及用于为该负压引流条的海绵条穿孔的穿孔机。本发明的负压引流条由海绵条及引流管构成,所述引流管的侧壁均匀设有引流孔;所述海绵条设有通孔;关键在于所述通孔的头端为渐扩形的喇叭口状结构;所述引流管位于通孔内,且引流管的形状与通孔形状相符;引流管的尾端露出于海绵条。本发明的穿孔机能够自动在海绵条上钻出一端端部为渐扩形的喇叭口状结构的通孔,采用上述海绵条制成的负压引流条不仅各个位置的引流均匀,还可以防止在将负压引流条拉出患者瘘管等引流部位时,负压引流条上的海绵条脱落。 | ||||
| 补充信息 | |||||
| 转让方式: | 成熟度: | 预估价值: | |||
| 市场前景: | |||||