样品
成果详情
| 项目简介 | |||||
|---|---|---|---|---|---|
| 技术简介: | |||||
| 专利类型: | 实用新型 | 专利申请号: | CN202023118308.6 | 公开号: | CN214342535U | 
| 专利权人: | 南方医科大学南方医院 | 发明设计人: | 庞凡;庞战军;周君桂 | ||
| 所属领域: | |||||
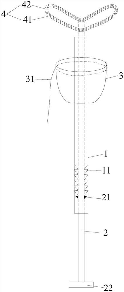
| 摘要: | 本实用新型公开了一种可用于子宫恶性肿瘤腹腔镜手术的新型举宫器,包括外套管、中央导杆和宫颈杯,外套管内轴向开有中央通道,中央导杆穿过其中,宫颈杯包绕在外套管外周且固定在外套管上,宫颈杯的前端为杯口,所述中央导杆能够前后移动地置于中央通道内,中央导杆的前端连接有通过中央导杆联动而收拢呈竖条状或展开呈羊角状的宫角架,宫颈杯的杯口为可防止宫颈组织或细胞掉落的可扎紧封闭式杯口。本实用新型的可用于子宫恶性肿瘤腹腔镜手术的新型举宫器可避免因中央导杆前端锐利而导致子宫穿孔的可能性,降低了术后感染风险,宫颈杯对宫颈部位捆扎可防止宫颈癌组织的脱落,降低癌细胞医源性种植风险。 | ||||
| 补充信息 | |||||
| 转让方式: | 成熟度: | 预估价值: | |||
| 市场前景: | |||||