样品
成果详情
| 项目简介 | |||||
|---|---|---|---|---|---|
| 技术简介: | |||||
| 专利类型: | 实用新型 | 专利申请号: | CN202020759175.1 | 公开号: | CN212940800U |
| 专利权人: | 南方医科大学南方医院 | 发明设计人: | 罗笑婷;王莉慧;刘丽兰;刘灿灿 | ||
| 所属领域: | |||||
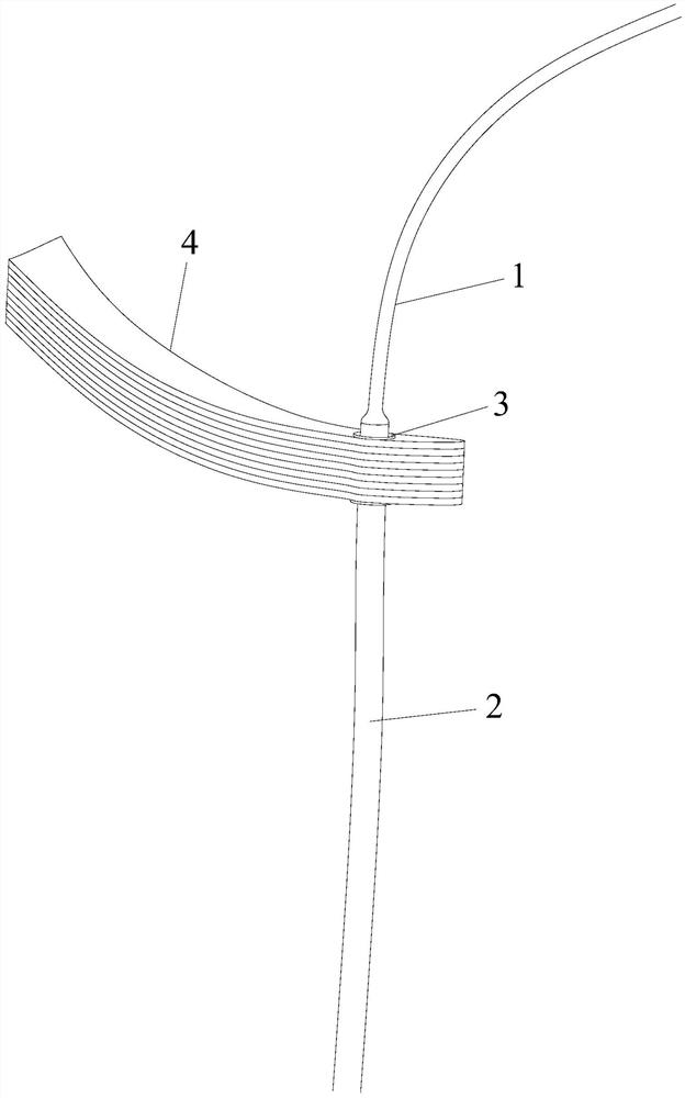
| 摘要: | 本实用新型公开了一种新型的吸痰保护屏,包括吸痰管和连接吸痰管后端的负压吸引管,所述负压吸引管上在接近吸痰管后端的位置处套装有可拆卸的套环,套环外围安装有折扇式保护罩,折扇式保护罩具有展开成圆形的第一状态及收折成一字型的第二状态。本实用新型的新型的吸痰保护屏吸痰时可避免痰液喷溅到医护人员头面部,避免医护人员感染。 | ||||
| 补充信息 | |||||
| 转让方式: | 成熟度: | 预估价值: | |||
| 市场前景: | |||||