样品
成果详情
| 项目简介 | |||||
|---|---|---|---|---|---|
| 技术简介: | |||||
| 专利类型: | 发明 | 专利申请号: | CN202411130262.X | 公开号: | CN118787424A |
| 专利权人: | 南方医科大学南方医院 | 发明设计人: | 郭晓芸;张萍;杨静华 | ||
| 所属领域: | |||||
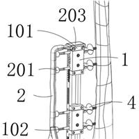
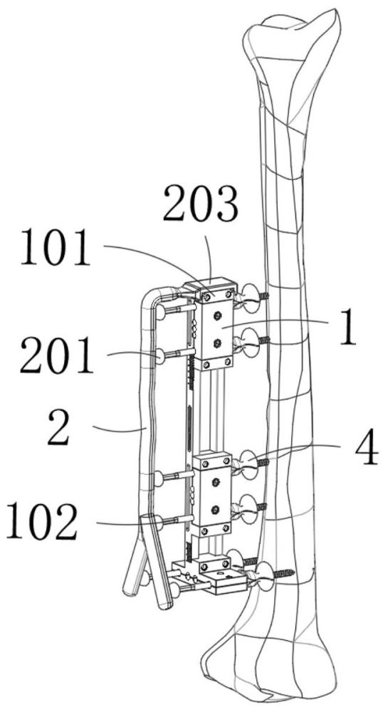
| 摘要: | 本发明提供一种创伤骨科用复位固定组件,属于医疗器械技术领域。包括外支架,所述外支架上安装有夹板,所述夹板和所述外支架上均插设有钢钉;保护组件,所述保护组件用于包裹保护钢钉的外露端,所述保护组件分别与所述钢钉和所述夹板相连接。本发明通过设置保护组件,可以对钢钉的外露端进行包裹式保护,包裹达到的效果使得钢钉的外露端不会对患者的正常起居生活造成影响,保护组件还对外支架的边角处进行包裹,使得患者在行走锻炼的过程中,躯体挤压或摩擦到外支架表面不会对钢钉的位置造成影响,避免了钢钉和患者皮肤之间产生撕裂流血的现象。 | ||||
| 补充信息 | |||||
| 转让方式: | 成熟度: | 预估价值: | |||
| 市场前景: | |||||