样品
成果详情
| 项目简介 | |||||
|---|---|---|---|---|---|
| 技术简介: | |||||
| 专利类型: | 实用新型 | 专利申请号: | CN202021079606.6 | 公开号: | CN212535225U |
| 专利权人: | 南方医科大学南方医院 | 发明设计人: | 周宏珍;张广清;王晓艳;贾淼;刘月;涂锦仪 | ||
| 所属领域: | |||||
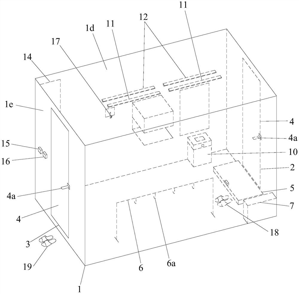
| 摘要: | 本实用新型公开了一种家用防疫消毒房,消毒房前后侧分别为出口、入口,入口和出口处均安装有门,消毒房内的入口处放置有用于消毒外穿鞋的地垫,消毒房主体内在地垫的左侧有可朝地垫涌出消毒液的消毒箱,消毒房主体内在地垫的左侧前方有落地式衣架,消毒房主体内在地垫的右侧有前后布置的挂钩一、免洗消毒台和七步洗手法指示图以及位于七步洗手法指示图下方的可自动打包的垃圾箱,消毒房主体的内顶部安装有照明灯和紫外消毒灯,地垫处安装有控制消毒箱和照明灯开启的踩踏式开关,消毒房主体还在出口外安装有开启和关闭紫外消毒灯的开关一及关闭照明灯的开关二。本实用新型的家用防疫消毒房能够适应疫情环境下人群居家防控的需求。 | ||||
| 补充信息 | |||||
| 转让方式: | 成熟度: | 预估价值: | |||
| 市场前景: | |||||