样品
成果详情
| 项目简介 | |||||
|---|---|---|---|---|---|
| 技术简介: | |||||
| 专利类型: | 实用新型 | 专利申请号: | CN202121842259.2 | 公开号: | CN215247237U |
| 专利权人: | 南方医科大学珠江医院 | 发明设计人: | 徐冬婷;刘君;李双华;纪晓屏;白小平 | ||
| 所属领域: | |||||
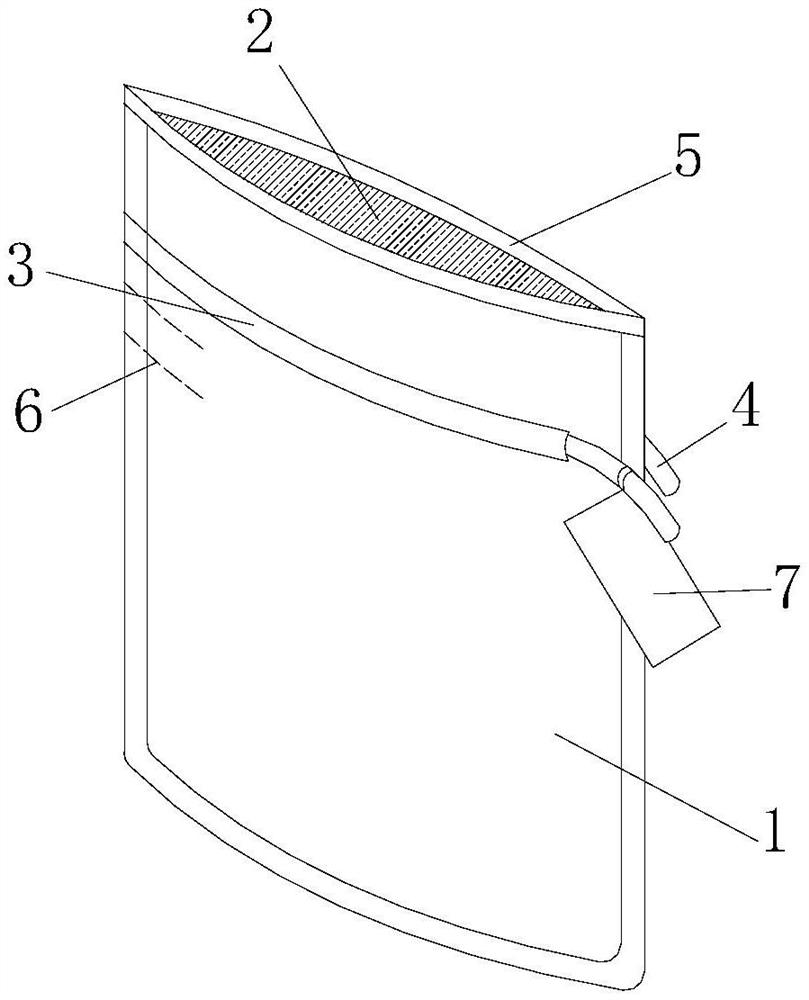
| 摘要: | 本实用新型公开了一种传染性疾病患者专用一次性污染物收集袋,包括收集袋,所述收集袋内还设有内层袋,其中所述收集袋的底部缝合线与内层袋的底部缝合线重合固定,所述内层袋的高度低于收集袋并且所述内层袋开口端的外周面与收集袋的内周面粘合固定,所述收集袋和内层袋均为医用的透明袋,其中,所述内层袋的表面和收集袋的表面均设有刻度,在所述收集袋上还设有一围绕着收集袋外周面设置的空腔,所述空腔位于刻度的上方,并且在所述空腔内放置有收缩绳,所述收缩绳的两端伸出空腔外部,此外,所述收集袋内的开口处还设有封口条。本实用新型无需医护人务手动进行套袋,方便医护人员判断收集袋内的污染物储量,方便收集使用,封口操作方便,能够有效的防止出现污染物外泄的现象。 | ||||
| 补充信息 | |||||
| 转让方式: | 成熟度: | 预估价值: | |||
| 市场前景: | |||||