样品
成果详情
| 项目简介 | |||||
|---|---|---|---|---|---|
| 技术简介: | |||||
| 专利类型: | 实用新型 | 专利申请号: | CN201920448696.2 | 公开号: | CN209826642U |
| 专利权人: | 南方医科大学南方医院 | 发明设计人: | 邢同印;陈锦凤;黄颖;王莉慧;刘梅娟;王震;刘盼盼;邹莹莹;陈湘;上官佳鑫 | ||
| 所属领域: | |||||
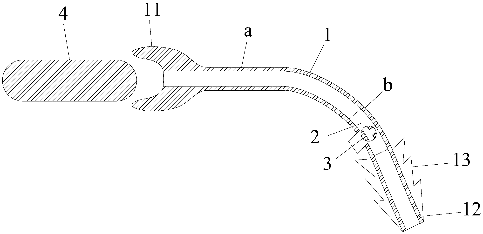
| 摘要: | 本实用新型公开了一种胶囊内镜的推送器,包括推送器主体,所述推送器主体是可塑形的空心管体,空心管体内的通道为负压通道,空心管体的一端是形状与胶囊内镜端部形状相适应的C型负压吸引夹,空心管体的另一端是负压吸引器连接端,负压通道的两端分别贯通C型负压吸引夹以及负压吸引器连接端。本实用新型的胶囊内镜的推送器可减轻患者的痛苦、降低患者的风险与费用。 | ||||
| 补充信息 | |||||
| 转让方式: | 成熟度: | 预估价值: | |||
| 市场前景: | |||||