样品
成果详情
| 项目简介 | |||||
|---|---|---|---|---|---|
| 技术简介: | |||||
| 专利类型: | 实用新型 | 专利申请号: | CN202421401877.7 | 公开号: | CN222779633U |
| 专利权人: | 南方医科大学深圳医院 | 发明设计人: | 邹文娇;智敏;车小曼 | ||
| 所属领域: | |||||
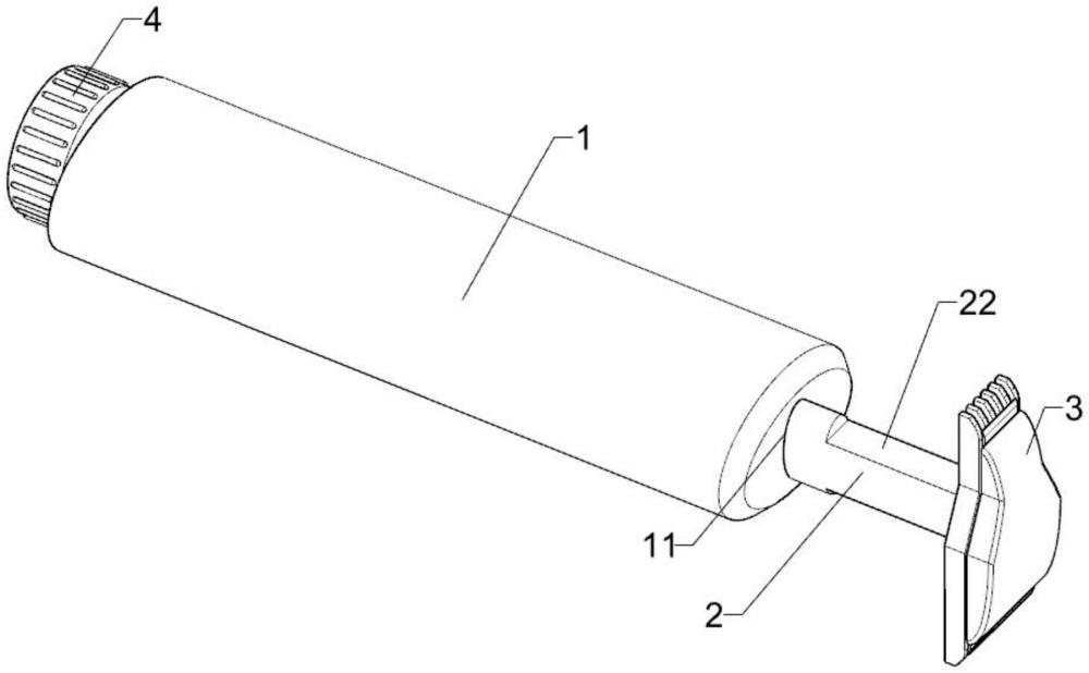
| 摘要: | 本实用新型涉及一种用于睡眠监测脑电导联的备皮刀,包括:刀柄,包括刀柄主体和连接杆,刀柄主体一端开有滑槽,连接杆安装于滑槽内;刀头,设置于连接杆端部,当连接杆回缩至与滑槽槽底接触时,刀头与刀柄主体之间存在间隔,形成观察区域;调节件,设置于刀柄主体,且与连接杆配合,可通过控制调节件驱动连接杆移动向外伸出及向内回缩,以调节观察区域的范围。本实用新型由于连接杆可在刀柄主体的滑槽内滑动,因此连接杆的直径比刀柄主体的直径小,刀柄主体与刀头之间通过直径尺寸小的连接杆连接,减小刀柄的遮挡面积,降低刀柄对使用者视野的影响;可更加清晰地观察备皮区域的状态。 | ||||
| 补充信息 | |||||
| 转让方式: | 成熟度: | 预估价值: | |||
| 市场前景: | |||||