样品
成果详情
| 项目简介 | |||||
|---|---|---|---|---|---|
| 技术简介: | |||||
| 专利类型: | 实用新型 | 专利申请号: | CN202020870243.1 | 公开号: | CN213608872U |
| 专利权人: | 南方医科大学珠江医院 | 发明设计人: | 曾倩;范梅霞;高慧玲;吴冬花 | ||
| 所属领域: | |||||
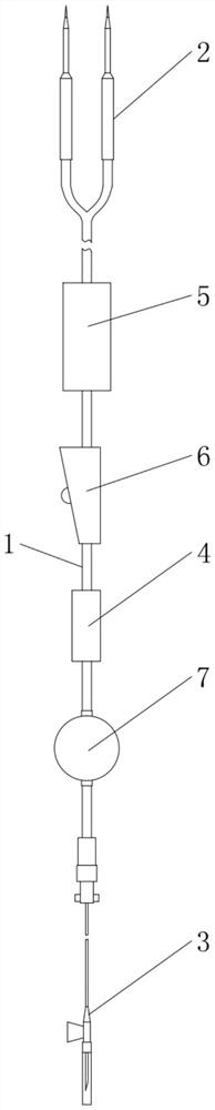
| 摘要: | 本实用新型公开了一种改良的输液管。一种改良的输液管,包括输液管、设于所述输液管上端的输液接头、设于所述输液管下端的头皮针,在所述输液管上设有第一茂菲氏滴管,在靠近所述第一茂菲氏滴管出液端的输液管上设有能够调节所述第一茂菲氏滴管内输液快慢的调节器,其中,在靠近所述调节器出液端的输液管上设有内部容量比所述第一茂菲氏滴管小的第二茂菲氏滴管。本实用新型一种改良的输液管,能够有效避免回血和降低患者恐惧感。 | ||||
| 补充信息 | |||||
| 转让方式: | 成熟度: | 预估价值: | |||
| 市场前景: | |||||