样品
成果详情
| 项目简介 | |||||
|---|---|---|---|---|---|
| 技术简介: | |||||
| 专利类型: | 发明 | 专利申请号: | CN202110472463.8 | 公开号: | CN113155370B |
| 专利权人: | 南方医科大学深圳医院 | 发明设计人: | 丁华胜;丁凡;钟鹏;请求不公布姓名 | ||
| 所属领域: | |||||
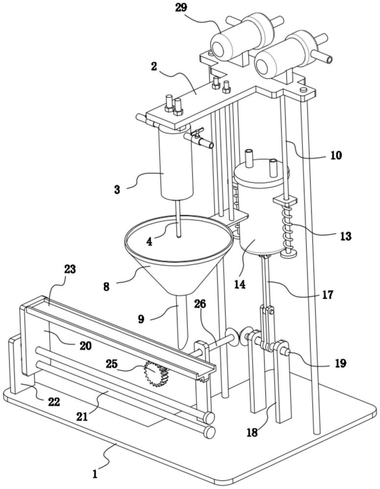
| 摘要: | 本发明涉及医用器械技术领域,尤其是一种医院用手套破损检测装置,圆柱内开设有储液腔,圆柱底端固定连接有与储液腔相连通的吸管,圆柱柱体上部固定设有两个出液管,吸管正下方设置有与之对应的漏斗,漏斗底端固定设有与之相连通的导管,漏斗固定安装在顶板上;顶板下表面还固定安装有对应设置的两个导杆,导杆上均套设有一个杆套,导杆底端均固定安装有一个限位块,限位块与杆套之间的导杆上均套设有一个弹簧,两个杆套之间固定安装有储存罐,储存罐顶端开口处螺纹安装有一个罐盖,罐盖上贯穿设置有两个导引管,储存罐内存储有试剂溶液。本发明通过利用淀粉碘化钾试纸遇到双氧水溶液变色的特性,来更为直观可靠实现对手套破损的检测。 | ||||
| 补充信息 | |||||
| 转让方式: | 成熟度: | 预估价值: | |||
| 市场前景: | |||||