样品
成果详情
| 项目简介 | |||||
|---|---|---|---|---|---|
| 技术简介: | |||||
| 专利类型: | 实用新型 | 专利申请号: | CN202020214711.X | 公开号: | CN212547807U |
| 专利权人: | 南方医科大学珠江医院 | 发明设计人: | 梁素娟;覃悦玲 | ||
| 所属领域: | |||||
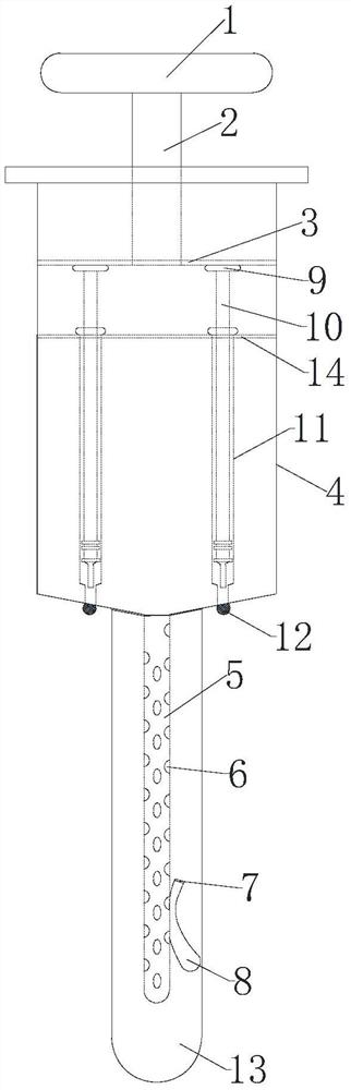
| 摘要: | 本实用新型公开了一种新型灌肠器,由活塞压板、活塞杆、出液板、储液筒、灌肠管、出液孔、打气孔、扩肛气囊、注射器压板、注射器柱、注射器管、蓬头出液口、管道套管和固定板组成,该装置通过在储液筒前端设计灌肠管以及出液孔,并在储液筒内部设计左右两个注射器,并在灌肠管前端设计扩肛气囊,可实现对患者同时进行灌肠和人工指力刺激功能,扩肛气囊可进行人工扩肛治疗,大大降低了护士戴手套进行人工指力刺激时由于手套渗透性问题而接触到患者体液的风险,有利于患者肛门括约肌的功能恢复,可使患者的便秘问题得到更全面的处理,并在注射器柱内充满生理盐水,且在末端设置蓬头出液口,可做到边灌肠边进行肛周冲洗,方便卫生,非常实用。 | ||||
| 补充信息 | |||||
| 转让方式: | 成熟度: | 预估价值: | |||
| 市场前景: | |||||