样品
成果详情
| 项目简介 | |||||
|---|---|---|---|---|---|
| 技术简介: | |||||
| 专利类型: | 实用新型 | 专利申请号: | CN201821845038.9 | 公开号: | CN209058183U |
| 专利权人: | 南方医科大学深圳医院 | 发明设计人: | 黄天花;李桂茹;文永燕;廖腊梅;黄惠明 | ||
| 所属领域: | |||||
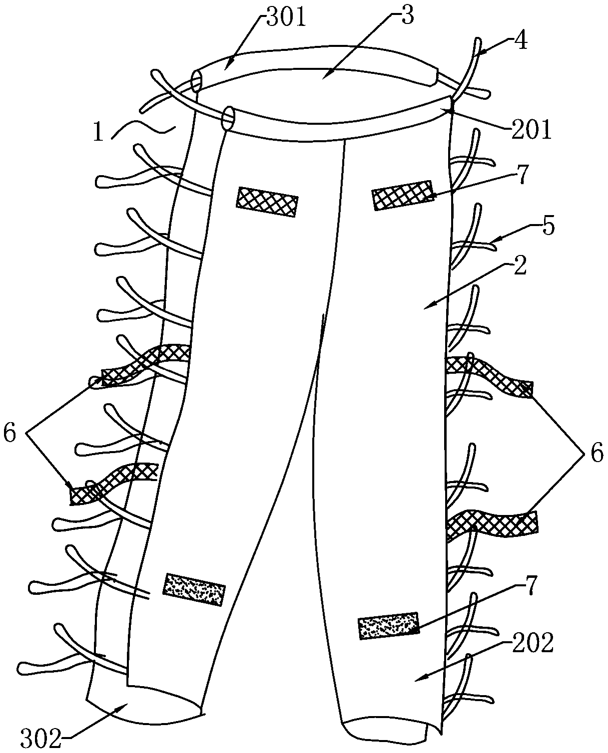
| 摘要: | 本实用新型公开的一种股动脉穿刺介入手术病员裤,包括裤体,所述裤体由前裤体和后裤体缝制而成,所述前裤体上部设有前裤腰,所述后裤体的上部设有后裤腰,所述前裤体和后裤体的下端分别有前裤腿和后裤腿,所述前裤体和后裤体的左右两侧的外侧处不缝合;所述前裤腰和后裤腰对应位置设有绑带连接,所述前裤体和后裤体的左右两侧开口处分别设有第一连接件将所述前裤体和后裤体连接固定,所述前裤体上且靠近裤裆处设有可拆卸式的加压袋。本实用新型提供的一种股动脉穿刺介入手术病员裤,设有对应的绑带和系带便于打结固定,在裤腿处设有第三魔术贴粘件便于对裤腿进行进一步的连接固定,避免绑带出现松脱导致的尴尬,设计更加的人性化。 | ||||
| 补充信息 | |||||
| 转让方式: | 成熟度: | 预估价值: | |||
| 市场前景: | |||||