样品
成果详情
| 项目简介 | |||||
|---|---|---|---|---|---|
| 技术简介: | |||||
| 专利类型: | 实用新型 | 专利申请号: | CN202420308315.1 | 公开号: | CN221866261U |
| 专利权人: | 南方医科大学深圳医院 | 发明设计人: | 魏荣;李力;焦阳 | ||
| 所属领域: | |||||
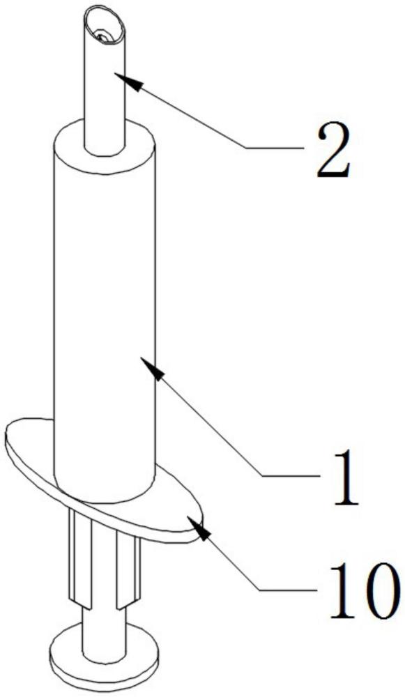
| 摘要: | 本实用新型提供的一种一次性超弹虹膜拉钩,涉及医疗器械技术领域,包括:推进器,所述推进器的输出端固定连通注射头,所述注射头的内部设置虹膜拉钩环,所述虹膜拉钩环的外表壁活动设置多个虹膜弯钩,所述推进器的内表壁活动插设推杆,所述推杆的输出端固定安装推头,虹膜拉钩环由于具备超弹特性,可以自行扩张,所以在患者角膜位置只要开一个小孔就可以将虹膜拉钩环植入到眼球,这样可以减少开孔数量,从而减少对患者的多次伤害,增加角膜愈合效率,同时操作方便,只需要将虹膜拉钩环放置于注射头内,一次性就可以植入到虹膜表面,不需要多次开孔和放置多个虹膜弯钩。 | ||||
| 补充信息 | |||||
| 转让方式: | 成熟度: | 预估价值: | |||
| 市场前景: | |||||