样品
成果详情
| 项目简介 | |||||
|---|---|---|---|---|---|
| 技术简介: | |||||
| 专利类型: | 实用新型 | 专利申请号: | CN202120335996.7 | 公开号: | CN215024711U | 
| 专利权人: | 南方医科大学南方医院 | 发明设计人: | 文戈;黄伟康;张海捷;夏琼;段刚;刘民英;涂茜 | ||
| 所属领域: | |||||
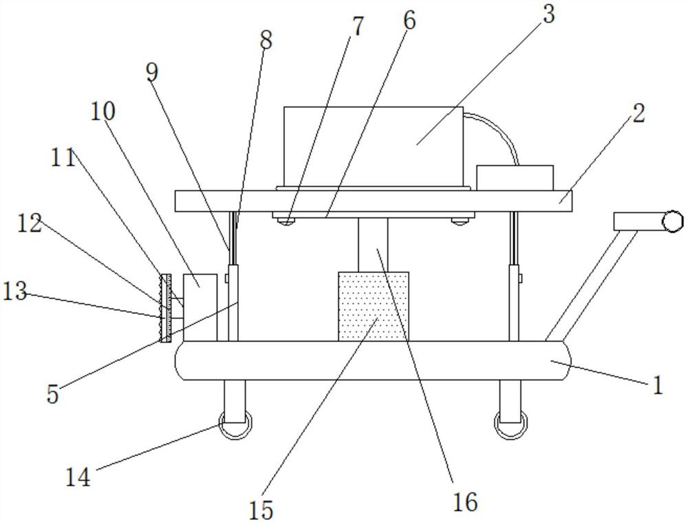
| 摘要: | 本实用新型涉及医疗设备领域,公开了一种用于抑郁症脑功能连接改变检测的CTMRI图像辅助系统。本实用新型中,所述固定螺杆的顶部末端通过螺纹连接有放置台;所述固定基座的上表面位于所述升降电机的左右两侧焊接有升降套管,所述升降套管的内壁开设有限位槽,所述限位槽的内部滑动连接有限位杆;所述固定基座的上表面前端焊接有减震基座,所述减震基座的内部后方焊接有滑动杆,所述滑动杆的表面套接有滑动块,受到震动时使得减震弹簧产生弹性形变,从而对振动进行缓冲,提高了该装置的稳定性,避免了辅助系统本体内部的精密仪器受到过多震荡产生损坏,从而提高了该装置的使用寿命。 | ||||
| 补充信息 | |||||
| 转让方式: | 成熟度: | 预估价值: | |||
| 市场前景: | |||||