样品
成果详情
| 项目简介 | |||||
|---|---|---|---|---|---|
| 技术简介: | |||||
| 专利类型: | 实用新型 | 专利申请号: | CN202420731813.7 | 公开号: | CN222130516U |
| 专利权人: | 南方医科大学南方医院 | 发明设计人: | 张轶欧;姚沛乔;张敏;曾丹;刘刚 | ||
| 所属领域: | |||||
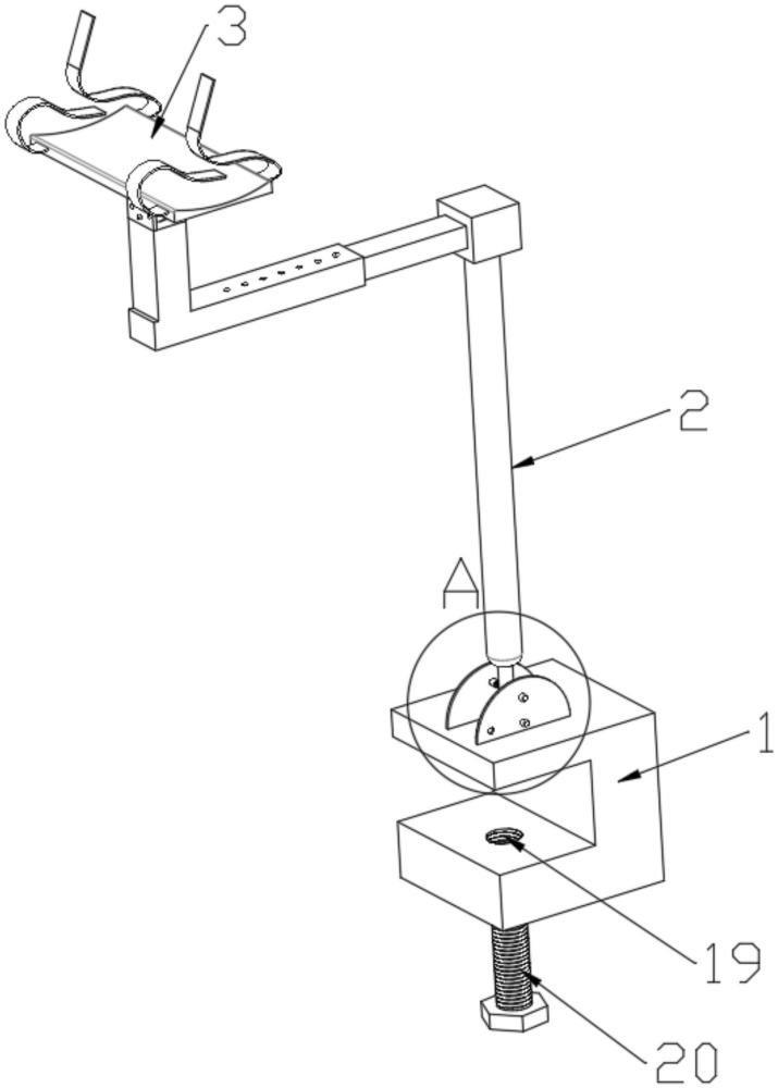
| 摘要: | 本实用新型公开了患者肢体固定装置,包括固定底座,所述固定底座上设置有支撑杆,所述支撑杆的侧面顶端连接有肢体固定板,所述肢体固定板上设置有绑缚固定的魔术贴,其特征在于:所述支撑杆的顶端设置有角度调节底座,所述肢体固定板的底端设置有调节板,所述调节板上固定连接有转轴和压簧杆一,所述角度调节底座上设置有中心孔和多个调节孔。本实用新型采用固定底座、角度调节底座、调节板、转轴和压簧杆一等多个结构的结合,能够对患者肢体进行固定,解决了现有技术中因为患者手臂未固定给手术带来的不良影响,采用上述结构,能够根据需要调节对应的肢体固定板的倾斜角度,以满足医务人员对患者固定角度的需求,给手术过程提供了方便。 | ||||
| 补充信息 | |||||
| 转让方式: | 成熟度: | 预估价值: | |||
| 市场前景: | |||||