样品
成果详情
项目简介 | |||||
---|---|---|---|---|---|
技术简介: | |||||
专利类型: | 实用新型 | 专利申请号: | CN202120445882.8 | 公开号: | CN215460568U |
专利权人: | 南方医科大学南方医院 | 发明设计人: | 李雪华;魏红云;欧庆;田光礼;汪娟;杨硕;魏丽霞 | ||
所属领域: | |||||
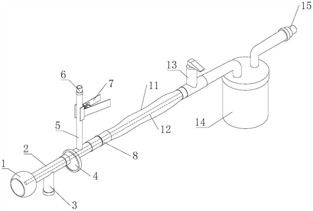
摘要: | 本实用新型公开了一种可计量密闭式吸痰装置,该吸痰装置通过在位于呼吸机接口和冲洗管之间的呼吸管上安装了防误吸阀门,在使用时通过旋转外盘和内盘实现打开和闭合功能,以及在负压吸引阀门和负压吸引连接口之间安装了痰液计量收集器,痰液计量收集器可通过旋转瓶身和瓶盖的相对位置实现收集痰液的功能,并具有计量功能,可以有效防止医护人员忘记关闭冲洗液的阀门而对病患造成的误吸等潜在风险,并方便了医护人员对痰液进行准确计量、便捷留取痰液标本,减少因密闭式吸痰装置对呼吸机治疗影响。 | ||||
补充信息 | |||||
转让方式: | 成熟度: | 预估价值: | |||
市场前景: |