样品
成果详情
| 项目简介 | |||||
|---|---|---|---|---|---|
| 技术简介: | |||||
| 专利类型: | 实用新型 | 专利申请号: | CN202123015307.3 | 公开号: | CN217091669U |
| 专利权人: | 南方医科大学南方医院 | 发明设计人: | 苗勇;胡志奇;杜丽娟 | ||
| 所属领域: | |||||
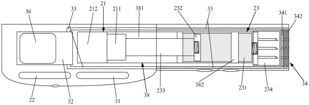
| 摘要: | 本实用新型公开一种无痛式电动皮肤注射装置,包括:壳体,包括后端主体和前端手柄;注射模组,包括驱动装置和第一供电模块、可拆卸安装于前端手柄内的注射器以及第一触发装置,第一供电模块与驱动装置和第一触发装置电连接;冷敷模组,包括安装于后端主体内的第二供电模块、制冷装置、位于壳体内的第一导热部、位于前端手柄最前端的冷敷模块以及安装于前端手柄的第二触发装置,第一导热部分别与制冷装置和冷敷模块连接,第二供电模块与制冷装置和第二触发装置电连接;控制模组,安装于后端主体上,并与注射模组和冷敷模组连接;驱动装置可驱动注射器的针头穿过冷敷模块。本实用新型可实现独立控制注射所需参数,实现全程无痛式注射。 | ||||
| 补充信息 | |||||
| 转让方式: | 成熟度: | 预估价值: | |||
| 市场前景: | |||||
成交记录
| 成交日期 | 受让方 | 转化方式 | 合同金额 |
|---|---|---|---|
| 2022-10-17 | 上海微创惟美医疗科技(集团)有限公司 | 许可 | ¥25万元 |