样品
成果详情
| 项目简介 | |||||
|---|---|---|---|---|---|
| 技术简介: | |||||
| 专利类型: | 发明 | 专利申请号: | CN201810735204.8 | 公开号: | CN109125819B |
| 专利权人: | 南方医科大学南方医院 | 发明设计人: | 陈婷;洪庆玲;陈珊珊;张琴;罗燕 | ||
| 所属领域: | |||||
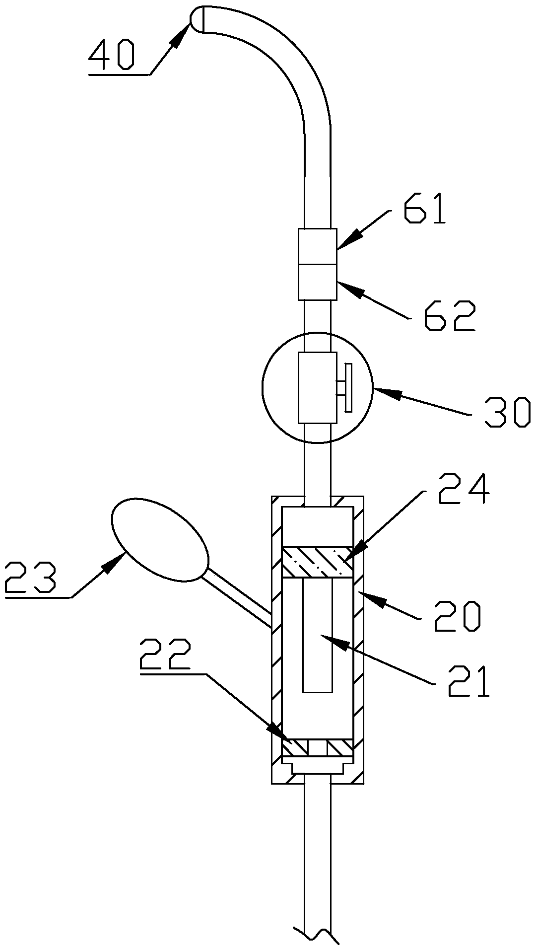
| 摘要: | 本发明公开了可防止痰液逆流的负压吸痰器,包括储存囊、过滤囊、吸痰头和负压装置,过滤囊的底端通过引流管与储存囊连接,过滤囊的顶端通过引流管与吸痰头连接,负压装置通过负压管与储存囊连接,过滤囊中布置有过滤器和止逆组件,止逆组件位于过滤器的下方。本发明设计具有过滤作用和防止痰液倒流作用的过滤囊,吸痰时,即使储存囊中装满痰液,也不必担心痰液会倒流至引流管中,更不会影响病人,因此本发明可广泛应用于临床吸痰技术领域。 | ||||
| 补充信息 | |||||
| 转让方式: | 成熟度: | 预估价值: | |||
| 市场前景: | |||||