样品
成果详情
| 项目简介 | |||||
|---|---|---|---|---|---|
| 技术简介: | |||||
| 专利类型: | 实用新型 | 专利申请号: | CN202221120263.2 | 公开号: | CN217366691U |
| 专利权人: | 南方医科大学珠江医院 | 发明设计人: | 蔡少如;秦佳升;徐永丽;周陈杰;葛梅 | ||
| 所属领域: | |||||
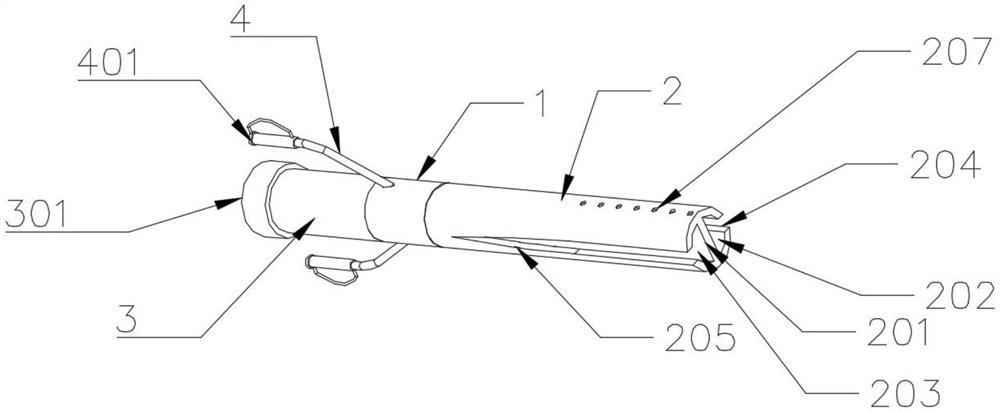
| 摘要: | 本公开属于医疗耗材领域,公开一种可冲洗槽引式腹腔双套管,包括第一管道,所述第一管道的一端设置有第二管道,所述第二管道的一端的端口与所述第一管道的一端的端口固定连接,所述第一管道的另一端设置有第三管道,所述第三管道的一端的端口与所述第一管道的另一端的端口固定连接。 | ||||
| 补充信息 | |||||
| 转让方式: | 成熟度: | 预估价值: | |||
| 市场前景: | |||||