样品
成果详情
| 项目简介 | |||||
|---|---|---|---|---|---|
| 技术简介: | |||||
| 专利类型: | 实用新型 | 专利申请号: | CN202220517345.4 | 公开号: | CN217356050U |
| 专利权人: | 南方医科大学南方医院 | 发明设计人: | 王亿;黄江琳;肖攀 | ||
| 所属领域: | |||||
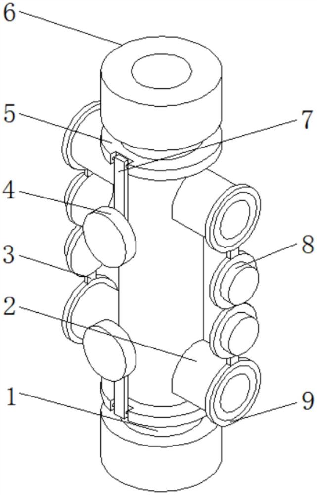
| 摘要: | 本实用新型公开了多通连接管,包括连接管,所述连接管的顶部和底部均固定连通有主连接头,所述连接管两侧的顶部和底部均固定连通有副连接头,所述副连接头表面的外侧套设有滑环。本实用新型通过设置连接管、副连接头、弹性连接块、密封塞、移动环、主连接头、弹性转动带、密封堵头、滑环、转动缺口、固定杆、固定轴和凹槽的配合使用,可满足多组液体同时输液,这样连接管的使用更加分别,解决了连接管在输液时,因不能满足多组液体同时输液,使得多组液体同时输注时需连接多个三通,多个三通合用增加了重量,在翻身和护理时多有不便,甚至可能引起脱管,从而导致连接管出现使用不安全的问题。 | ||||
| 补充信息 | |||||
| 转让方式: | 成熟度: | 预估价值: | |||
| 市场前景: | |||||