样品
成果详情
| 项目简介 | |||||
|---|---|---|---|---|---|
| 技术简介: | |||||
| 专利类型: | 实用新型 | 专利申请号: | CN202020083456.X | 公开号: | CN211883973U |
| 专利权人: | 南方医科大学;广州医科大学附属顺德医院(佛山市顺德区乐从医院) | 发明设计人: | 黄文华;苏炜炜;张国栋;李卫;何藻鹏;许靖;廖政文 | ||
| 所属领域: | |||||
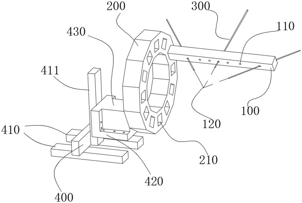
| 摘要: | 本实用新型的用于异物微创取出的同球心精准定位装置,设置有同球心定位机构和用于调节同球心定位机构空间位置的位置调节机构,同球心定位机构和位置调节机构装配。该用于异物微创取出的同球心精准定位装置利用同球心定位原理,以同球心定位机构形成的球心为参照,通过位置调整机构调整球心相对于异物的位置,使得最终球心与异物的位置重合,实现对异物位置的精准定位,具有定位精确的特点。该用于异物微创取出的同球心精准定位装置,可以通过定位臂的不同位置选择,以与异物位置相适应。 | ||||
| 补充信息 | |||||
| 转让方式: | 成熟度: | 预估价值: | |||
| 市场前景: | |||||