样品
成果详情
| 项目简介 | |||||
|---|---|---|---|---|---|
| 技术简介: | |||||
| 专利类型: | 实用新型 | 专利申请号: | CN202121297690.3 | 公开号: | CN215608795U |
| 专利权人: | 南方医科大学珠江医院 | 发明设计人: | 张宏征;张丁聆;唐杰;陈东秀;潘静;陈安宁 | ||
| 所属领域: | |||||
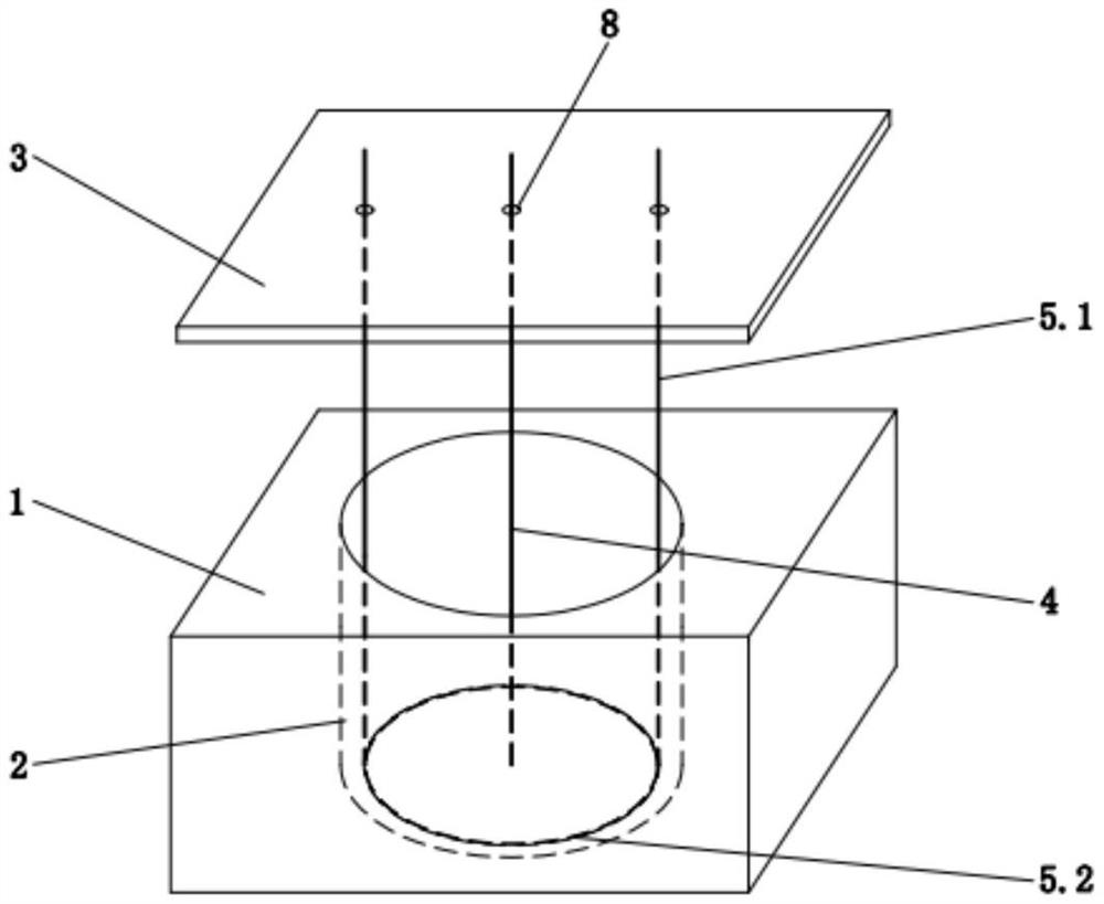
| 摘要: | 本实用新型公开了一种环形线圈式人工耳蜗电刺激装置,包括基座和培养孔板,基座铺设一块盖板,盖板吊装有成套配置的中央刺激电极和环形回路电极,中央刺激电极和环形回路电极悬空于培养孔板内部并浸于培养液中,环形回路电极与中央刺激电极形成了感应电流,电刺激过程中的电荷密度由中央刺激电极向周围的环形回路电极逐渐降低,实现了能够探究电荷密度影响力,依据探索人工耳蜗植入的生物学效应作为参考来优化相应植入技术,为提升人工耳蜗的性能打下良好理论基础,并且每次实验只需更换十二个培养孔板,盖板可多次重复使用,提升了使用效率。 | ||||
| 补充信息 | |||||
| 转让方式: | 成熟度: | 预估价值: | |||
| 市场前景: | |||||