样品
成果详情
| 项目简介 | |||||
|---|---|---|---|---|---|
| 技术简介: | |||||
| 专利类型: | 实用新型 | 专利申请号: | CN202120445785.9 | 公开号: | CN215079819U | 
| 专利权人: | 南方医科大学南方医院 | 发明设计人: | 向怀琛;罗植尹;侯晓敏 | ||
| 所属领域: | |||||
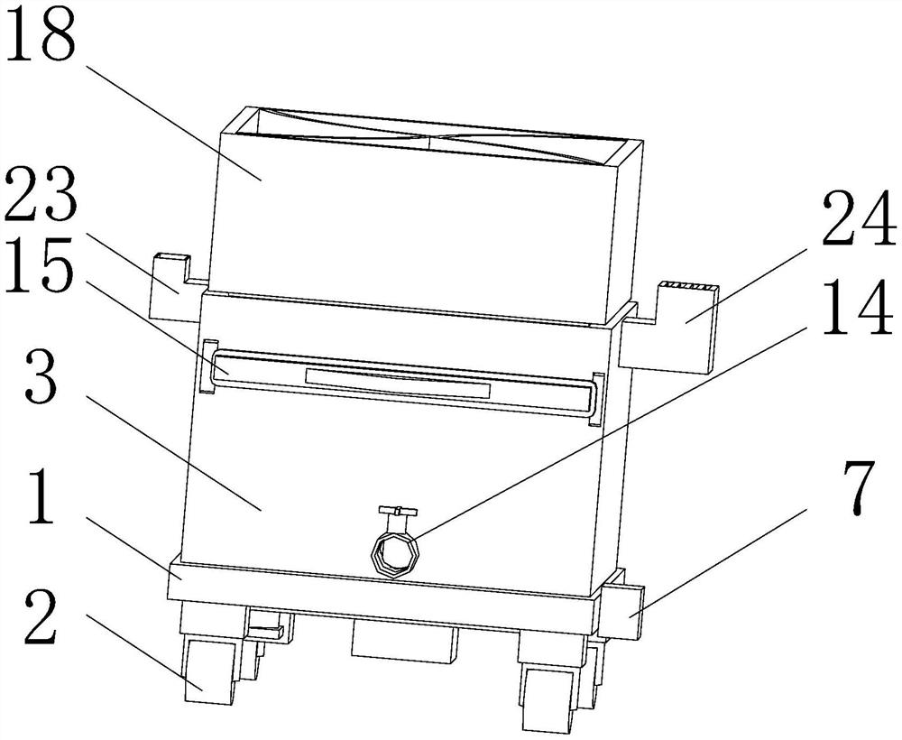
| 摘要: | 本实用新型属于污物收集装置技术领域,尤其为一种临床手术室用污物收集装置,包括底板,所述底板的下端固定安装有一组万向轮,所述底板的上端固定连接有机箱,所述底板的下端固定连接有第一电机,所述第一电机的输出端同轴固定连接有搅拌轴,且搅拌轴贯穿于机箱的底端,所述搅拌轴的侧壁上固定连接有一组搅拌叶,所述底板的右端固定连接有第二电机,所述第二电机的输出端同轴固定连接有绞龙。本实用新型通过顶箱与机箱滑动连接,使顶箱与机箱能够拆分,方便清洗顶箱,通过机箱的前端内侧滑动连接有过滤板,使工作人员可以把过滤板滑动出去,方便清理机箱内与过滤板上的污水,从而解决了污物收集装置清洗不方便的问题。 | ||||
| 补充信息 | |||||
| 转让方式: | 成熟度: | 预估价值: | |||
| 市场前景: | |||||