样品
成果详情
| 项目简介 | |||||
|---|---|---|---|---|---|
| 技术简介: | |||||
| 专利类型: | 实用新型 | 专利申请号: | CN202121751645.0 | 公开号: | CN215460888U |
| 专利权人: | 南方医科大学珠江医院 | 发明设计人: | 张小红;余艳;陈新姑;陈群清;李辉 | ||
| 所属领域: | |||||
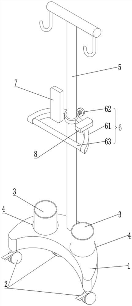
| 摘要: | 本实用新型公开了一种新型安全康复输液架,包括底座,在所述底座的底部设有若干个带有刹车片的万向轮;在所述底座上开设有至少一个用于放置一胸瓶桶的置桶凹槽,还在所述底座上可拆卸设有一用于悬挂输液药物的输液杆,在所述输液杆上设有一能够沿着该输液杆的长度方向上下滑动的扶手组件。本实用新型具有便于推动、不易造成患者摔倒、有利于放置胸瓶桶且胸瓶桶移动方便不易被踢倒的优点。 | ||||
| 补充信息 | |||||
| 转让方式: | 成熟度: | 预估价值: | |||
| 市场前景: | |||||