样品
成果详情
| 项目简介 | |||||
|---|---|---|---|---|---|
| 技术简介: | |||||
| 专利类型: | 实用新型 | 专利申请号: | CN202320908199.2 | 公开号: | CN219896590U |
| 专利权人: | 南方医科大学珠江医院 | 发明设计人: | 许木清;张宏征 | ||
| 所属领域: | |||||
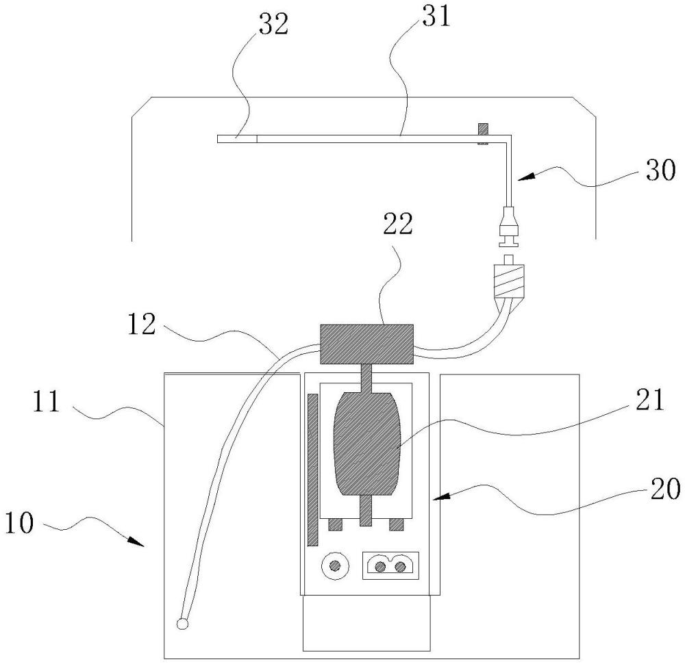
| 摘要: | 本实用新型公开了一种多功能耳镜冲洗套件,包括:储液导液单元,用于储存清洗药液;清理单元,用于连接耳内镜或市售耳镜,配合耳内镜或市售耳镜对耳道进行清洗药物冲洗,并可冲洗耳内镜或市售耳镜;单元清理单元包括中间输液件和软管,单元中间输液件的出液端上安装单元软管;动力单元,单元动力单元的进液口和出液口分别连通单元储液导液单元和单元清理单元的单元中间输液件的进液端,单元动力单元用于驱动储液导液单元储存的清洗药液自动进入清理单元,并可调节单元清理单元的出液速度。本实用新型压力稳定,操作简单,能自动冲洗耳内镜的镜头,还能减少清理副损伤,而且患者可自行冲洗患耳,不会耽误日常工作。 | ||||
| 补充信息 | |||||
| 转让方式: | 成熟度: | 预估价值: | |||
| 市场前景: | |||||