样品
成果详情
| 项目简介 | |||||
|---|---|---|---|---|---|
| 技术简介: | |||||
| 专利类型: | 实用新型 | 专利申请号: | CN202121079529.9 | 公开号: | CN215306438U | 
| 专利权人: | 南方医科大学南方医院 | 发明设计人: | 余江;陈新华;黄泽;廖明楷 | ||
| 所属领域: | |||||
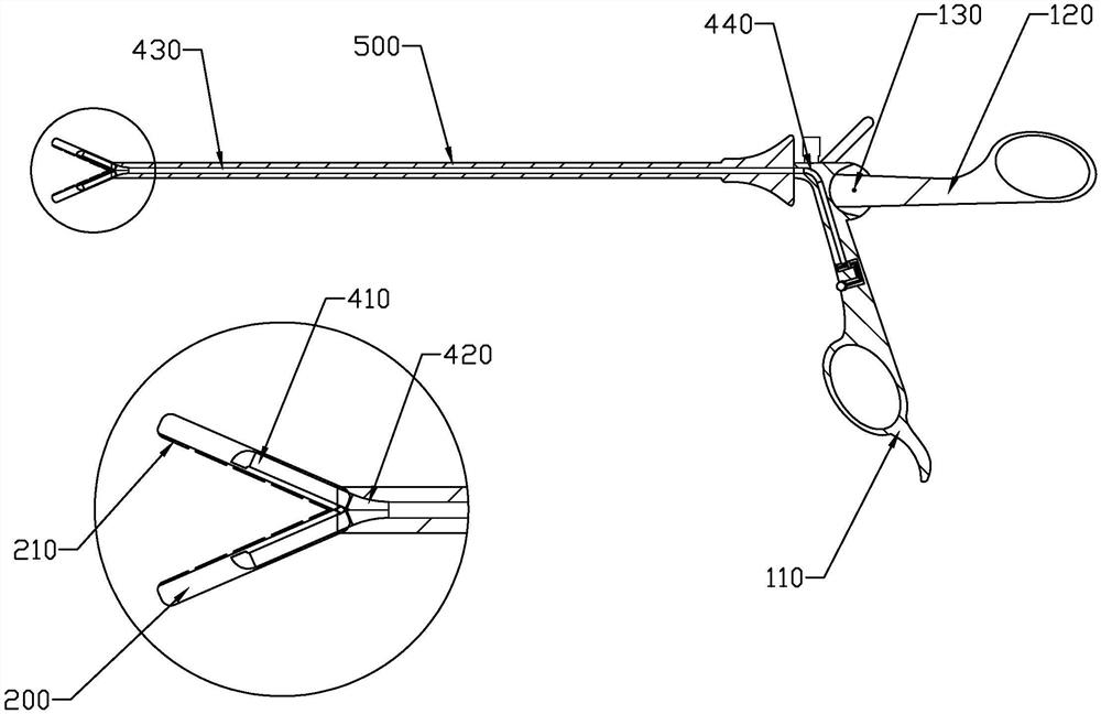
| 摘要: | 本实用新型公开了一种手术钳,手术钳包括钳柄、钳头、连接杆;所述钳头共有两个,两个所述钳头之间可开合,每个所述钳头的夹持面设置有气垫;所述连接杆一端连接钳头,另一端连接钳柄。本手术钳通过在钳头处增设气垫,辅助夹持腹腔内脏器,有效避免了传统金属钳头夹持时易造成脏器损伤的有害情况。 | ||||
| 补充信息 | |||||
| 转让方式: | 成熟度: | 预估价值: | |||
| 市场前景: | |||||